Operation CHARM: Car repair manuals for everyone.
Manuals through 2025 now available!

Our trusted friends have launched a new website named LEMON, which has newer manuals. It also contains all the CHARM manuals.

LEMON is the spiritual successor to CHARM, I recommend you try it!

Link: lemon-manuals.la or lemon-manuals.org.ua

(Some people have issue connecting. LEMON is investigating. For now, use Firefox or change your DNS server)

Or, hide this message: temporarily or permanently

Wiper Motor: Service and Repair



Windshield Wiper Motor Replacement

Tools Required
* J 39232 Wiper Linkage Separator
* J 39529 Wiper Linkage Installer

Removal Procedure

1. Place the wiper arms in the 1/2 wipe position.
2. Turn the ignition key to the OFF position.




3. Remove the wiper arms. Refer to Windshield Wiper Arm Replacement (Service and Repair) .
4. Remove the air inlet grille panel. Refer to Air Inlet Grille Panel Replacement (Service and Repair) .




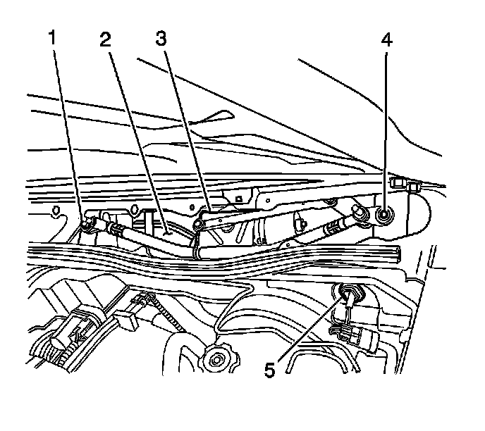
5. Remove the wiper transmission (3). Refer to Windshield Wiper Transmission Replacement (Service and Repair) .
6. Using the J 39232, separate the transmission link from the wiper motor crank arm ball stud.
7. Remove the fasteners from the wiper motor to the frame assembly.
8. Remove the wiper motor.

Installation Procedure

1. Install the wiper motor onto the wiper transmission frame.

Notice: Refer to Fastener Notice (Fastener Notice) .

2. Install the bolts in order to secure the motor to the frame.

Tighten the wiper motor mounting bolts to 9 N.m (81 lb in).





Important: Lubricate the socket with Multi-Purpose Lubricant, Superlube, GM P/N 12346241 (Canadian P/N 10953474) or equivalent.


3. Install the transmission drive link socket onto the crank arm ball of the wiper motor using the J 39529.




4. Install the wiper transmission (3) to the plenum. Refer to Windshield Wiper Transmission Replacement (Service and Repair) .