Operation CHARM: Car repair manuals for everyone.
Manuals through 2025 now available!

Our trusted friends have launched a new website named LEMON, which has newer manuals. It also contains all the CHARM manuals.

LEMON is the spiritual successor to CHARM, I recommend you try it!

Link: lemon-manuals.la or lemon-manuals.org.ua

(Some people have issue connecting. LEMON is investigating. For now, use Firefox or change your DNS server)

Or, hide this message: temporarily or permanently

Underhood Fuse Block



Electrical Center Identification Views

Fuse Block - Underhood, Top View






Fuse Block - Underhood, Bottom View






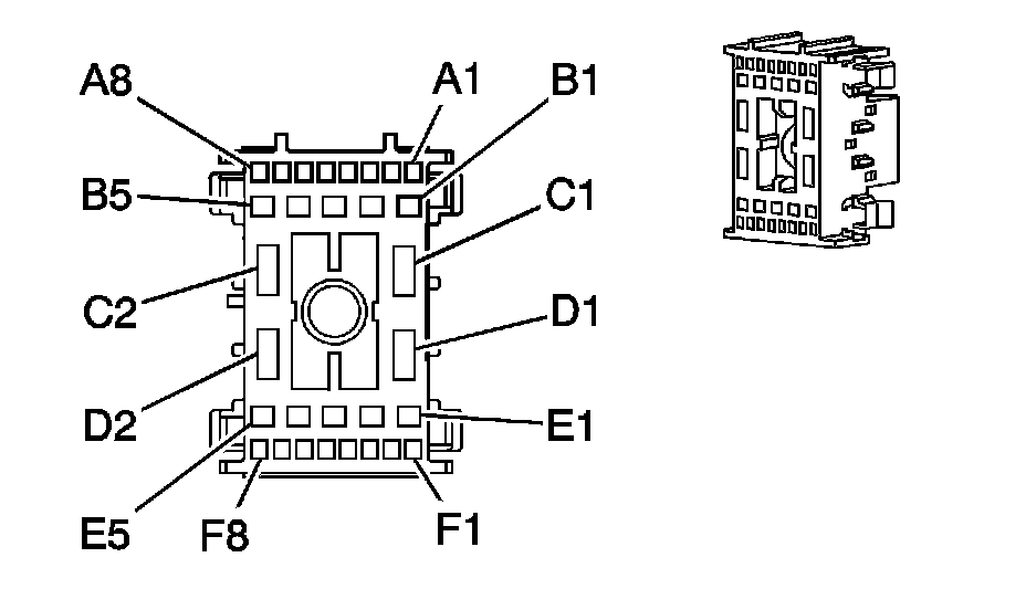
Fuse Block - Underhood X1














Fuse Block - Underhood X2









Fuse Block - Underhood X2 (Pin A1 To P2):





Fuse Block - Underhood X2 (Pin P3 To P5):






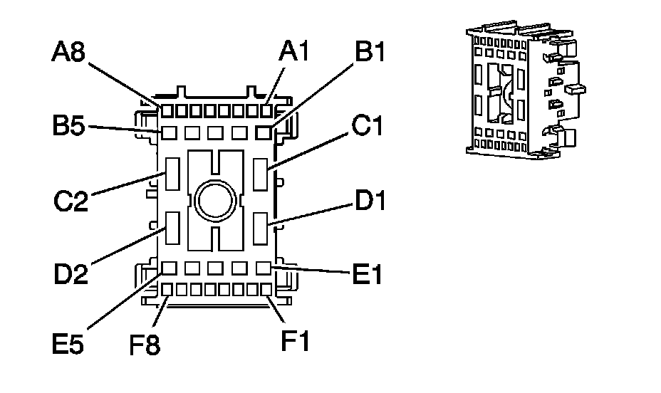
Fuse Block - Underhood X3














Fuse Block - Underhood X4














Fuse Block - Underhood X5









Fuse Block - Underhood X5 (Pin A1 To J3):





Fuse Block - Underhood X5 (Pin J4 To K8):