Operation CHARM: Car repair manuals for everyone.
Manuals through 2025 now available!

Our trusted friends have launched a new website named LEMON, which has newer manuals. It also contains all the CHARM manuals.

LEMON is the spiritual successor to CHARM, I recommend you try it!

Link: lemon-manuals.la or lemon-manuals.org.ua

(Some people have issue connecting. LEMON is investigating. For now, use Firefox or change your DNS server)

Or, hide this message: temporarily or permanently

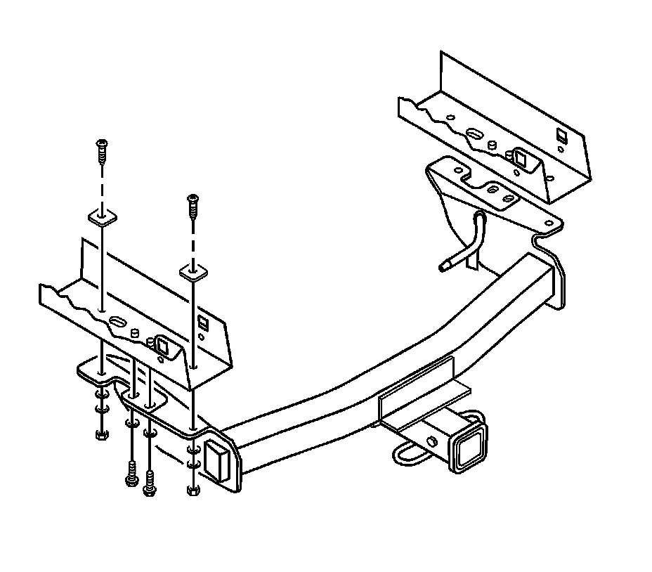
Trailer Hitch: Service and Repair


Trailer Hitch Replacement


Removal Procedure

1.Raise and support the vehicle. Refer to Lifting and Jacking the Vehicle .

2.Remove the rubber grommet from the rear exhaust hanger.

3.Lower the automatic level control compressor assembly. Refer to Automatic Level Control Air Compressor Filter Replacement .





4.Remove the trailer hitch assembly from the vehicle.

Installation Procedure





Notice:Refer to Fastener Notice .

1.Install the trailer hitch onto the vehicle.

Tighten
-Tighten all 0.5 in diameter carriage bolts to 101 N �m (75 lb ft).

-Tighten all M10 bolts to 54 N �m (40 lb ft).

2.Install the automatic level control compressor assembly onto the vehicle. Refer to Automatic Level Control Air Compressor Filter Replacement .

3.Install the rubber grommet onto the rear exhaust hanger.

4.Lower the vehicle.