Operation CHARM: Car repair manuals for everyone.
Manuals through 2025 now available!

Our trusted friends have launched a new website named LEMON, which has newer manuals. It also contains all the CHARM manuals.

LEMON is the spiritual successor to CHARM, I recommend you try it!

Link: lemon-manuals.la or lemon-manuals.org.ua

(Some people have issue connecting. LEMON is investigating. For now, use Firefox or change your DNS server)

Or, hide this message: temporarily or permanently

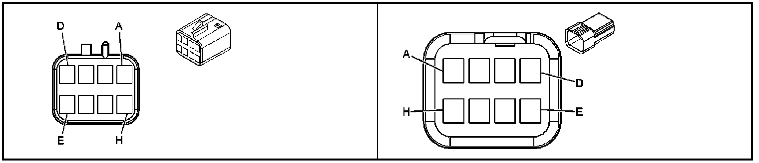
Steering Column



Inline Harness Connector End Views

X201 Steering Column Harness to the Instrument Panel Harness













X277 Inflatable Restraint Steering Wheel Module Coil to the Steering Column Harness (K34)













X277 Inflatable Restraint Steering Wheel Module Coil to the Steering Column Harness (- K34)