Rear Camber Adjustment
Rear Camber Adjustment
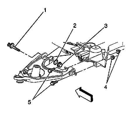
Removal Procedure
1. Place vehicle on alignment machine with rear wheels supported by Weaver plates.
2. Loosen rear lower control arm mounting nuts (3, 4).
3. Adjust camber with cam bolt (1).
4. Confirm correct camber value.
5. Check toe alignment and adjust if required.
Installation Procedure
Notice: Refer to Fastener Notice (Fastener Notice).
1. Tighten the lower control arm mounting nuts (3, 4).
* Tighten the nut (3) to 145 N.m (107 lb ft).
* Tighten the nut (4) to 50 N.m (37 lb ft).
2. Test drive the vehicle.