Operation CHARM: Car repair manuals for everyone.
Manuals through 2025 now available!

Our trusted friends have launched a new website named LEMON, which has newer manuals. It also contains all the CHARM manuals.

LEMON is the spiritual successor to CHARM, I recommend you try it!

Link: lemon-manuals.la or lemon-manuals.org.ua

(Some people have issue connecting. LEMON is investigating. For now, use Firefox or change your DNS server)

Or, hide this message: temporarily or permanently

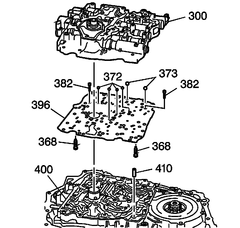
Control Valve Body Assembly Removal



Control Valve Body Assembly Removal




1. Remove the indicated control valve body bolts (374-381, 384).




2. Carefully lift the fluid pressure manual valve position switch assembly (395) off of the control valve body (300). Handle the switch assembly carefully, it is very delicate.




3. Remove the control valve body assembly (300).
4. Remove the two retainers (368) from the valve body assembly.

Important: The bonded spacer plate gasket assembly is not re-useable and should be replaced any time it is removed from the transmission.


5. Remove the spacer plate and gasket assembly (396) and discard with the two screen/seal assemblies (382) from the valve body (300).

* Remove the six ball check valves (372, 373) from the valve body (300).
* Remove the case cover pin (410).




6. Remove the four ball check valves (372) from the case cover (400).