Operation CHARM: Car repair manuals for everyone.
Manuals through 2025 now available!

Our trusted friends have launched a new website named LEMON, which has newer manuals. It also contains all the CHARM manuals.

LEMON is the spiritual successor to CHARM, I recommend you try it!

Link: lemon-manuals.la or lemon-manuals.org.ua

(Some people have issue connecting. LEMON is investigating. For now, use Firefox or change your DNS server)

Or, hide this message: temporarily or permanently

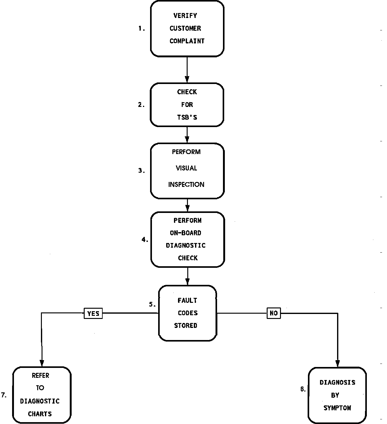
Flow of Diagnosis

Flow Of Diagnosis:





1. Get an accurate description of the complaint. Road test the vehicle to verify. For further information us the DRIVEABILITY WORKSHEET and VEHICLE REPAIR HISTORY forms below.
2. Check TSB's for manual updates, testing procedures, warranty and recall information.
3. Refer to Powertrain Management/Computers and Control Systems/Testing and Inspection/Procedures.
4. Refer to Powertrain Management/Computers and Control Systems/Testing and Inspection/Procedures.
NOTE: The DRB II or an equivalent scan tool is required for proper diagnosis and testing of the vehicle.
5. Fault codes are stored by the ECU when a monitored circuit has a failure. Each code represents a problem or failure of a specific system, and is stored in the ECU memory so that they can be displayed to a technician for diagnosis. If after performing On-Board Diagnosis, it is determined that no codes have been stored an a driveability problem still exists, proceed to step 6.
6. See Powertrain Management/Computers and Control Systems/Testing and Inspection/Diagnosis by Symptom for symptom vehicle is exhibiting. Follow procedures as outlined for given symptom.
7. Refer to DIAGNOSTIC CHARTS.

Driveability Worksheet:




Driveability Worksheet:





DRIVEABILITY WORKSHEET

Vehicle Repair History:




Vehicle Repair History:





VEHICLE REPAIR INFORMATION