Operation CHARM: Car repair manuals for everyone.
Manuals through 2025 now available!

Our trusted friends have launched a new website named LEMON, which has newer manuals. It also contains all the CHARM manuals.

LEMON is the spiritual successor to CHARM, I recommend you try it!

Link: lemon-manuals.la or lemon-manuals.org.ua

(Some people have issue connecting. LEMON is investigating. For now, use Firefox or change your DNS server)

Or, hide this message: temporarily or permanently

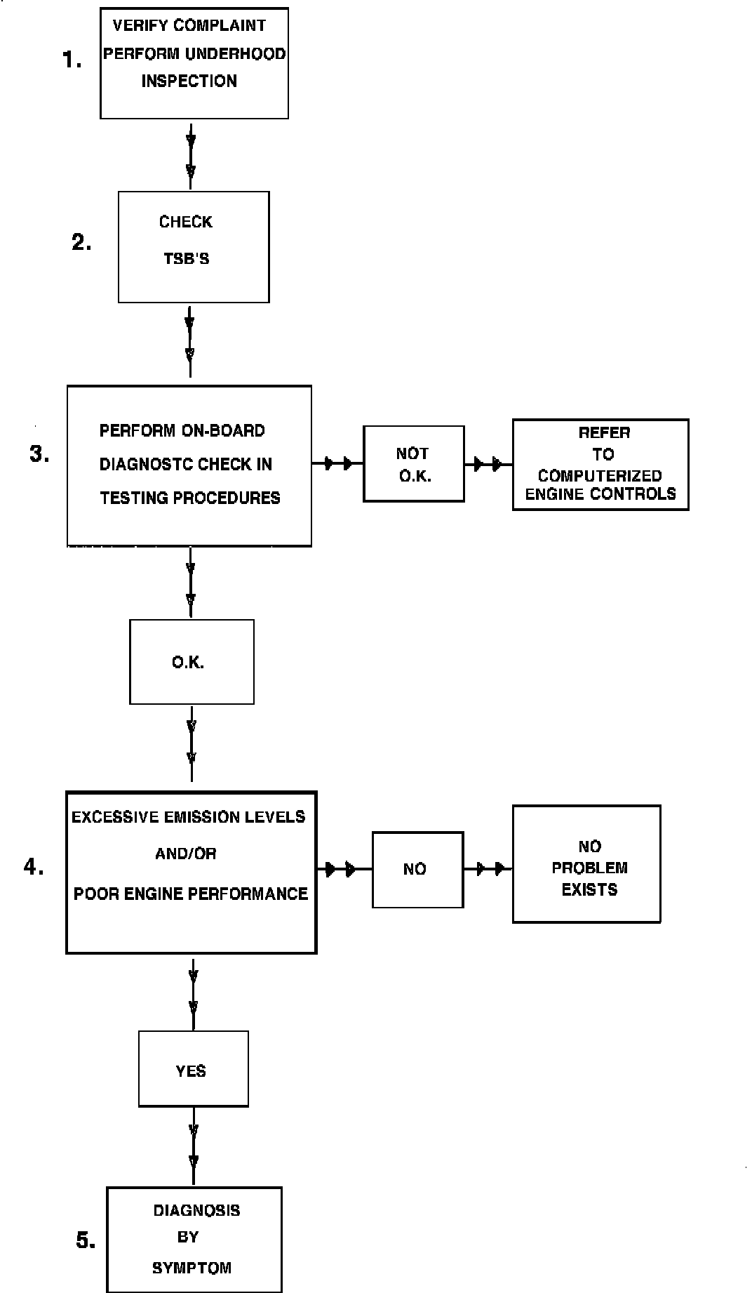
Flow of Diagnosis

Flow Of Diagnosis:




1. Complete the VEHICLE REPAIR HISTORY and the DRIVEABILITY WORKSHEET, getting a detailed description of the complaint. Verify condition by road testing the vehicle.
NOTE: The Vehicle Repair History and the Driveability Worksheets are located under "INFO TYPE" TECHNICAL/MANAGEMENT SUPPORT.
Perform underhood inspection.
VISUALLY INSPECT THE FOLLOWING:
a. Vacuum hoses for proper routing, tight connections, splits, kinks and foreign obstacles (BB).
NOTE: Some vehicle manufacturers use an orifice-insert within a vacuum line as a delay device. Do NOT mistake as a BB and cut the vacuum line.
b. Vacuum fittings for improperly capped or plugged ports. Be sure to check the throttle body area, also.
c. Electrical and ignition wires for proper routing, cracking, hardness and tight connections at both the distributor and the spark plugs, kinks, and abrasions. Ground connections should be clean and tight.
d. Verify that all components are properly installed and have not been modified or damaged.
e. Check for air or vacuum leaks around the intake and exhaust manifolds, as well as the throttle body.
f. The catalytic converter(s), muffler, exhaust pipes, brackets, and hangers for modifications or damage.
2. Check TSB'S for manual updates, testing procedures, warranty and recall information.
3. Refer to Powertrain Management/Computers and Control Systems/Testing and Inspection/Procedures, for correct procedure to extract fault codes. If the CHECK ENGINE light is flashing continuously, or codes are displayed during on board diagnosis, refer to COMPUTERIZED ENGINE CONTROLS/DIAGNOSIS AND TESTING, for further procedures.
4. If excessive emission levels or poor engine performance is related to emission control components or devices, and there is no CHECK ENGINE light on refer to DIAGNOSIS BY SYMPTOM.
5. Refer to Powertrain Management/Emission Control Systems/Procedures/Diagnosis by Symptom, for the symptom the vehicle exhibits. Follow the procedures as outlined for the given symptom.