Operation CHARM: Car repair manuals for everyone.
Manuals through 2025 now available!

Our trusted friends have launched a new website named LEMON, which has newer manuals. It also contains all the CHARM manuals.

LEMON is the spiritual successor to CHARM, I recommend you try it!

Link: lemon-manuals.la or lemon-manuals.org.ua

(Some people have issue connecting. LEMON is investigating. For now, use Firefox or change your DNS server)

Or, hide this message: temporarily or permanently

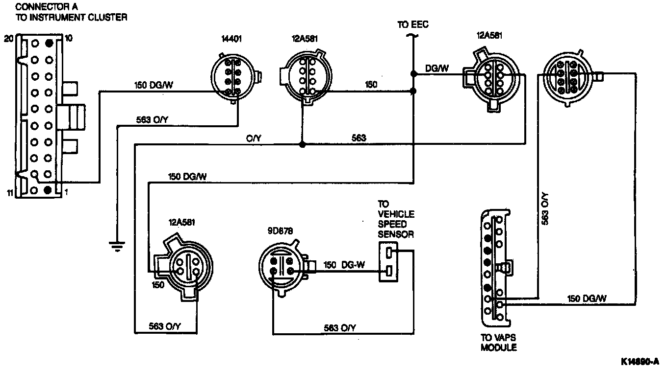
Component Tests and General Diagnostics





NOTES:
Use the Electronic Instrument Cluster (EIC) system schematics and descriptions with Quick Checks for an isolated view of each system for troubleshooting purposes. The description provides an understanding of how the system works, and the Quick Check tells what should happen during operation.

The Diagnostic by Symptom section uses pinpoint tests to service the most likely concerns with the EIC. The Diagnostic by System section gives an overview of the entire system.

Voltage and resistance measurements may be obtained using Rotunda Digital Volt/Ohm Meter 007-00001 or equivalent.

Description
^ A speed sensor mounted on the transaxle sends pulses to the instrument cluster. The pulses also go to the EEC-IV ECA module and Variable Assist Power Steering (VAS) module, if so equipped.

Quick Check
^ Verify speedometer by road testing vehicle.
^ If speedometer reads zero, high, or erratic, then road test speed control. Speed control is performed by the EEC-IV ECA module. If speed control does not work properly, concern is not the CCA (speedometer).