Operation CHARM: Car repair manuals for everyone.
Manuals through 2025 now available!

Our trusted friends have launched a new website named LEMON, which has newer manuals. It also contains all the CHARM manuals.

LEMON is the spiritual successor to CHARM, I recommend you try it!

Link: lemon-manuals.la or lemon-manuals.org.ua

(Some people have issue connecting. LEMON is investigating. For now, use Firefox or change your DNS server)

Or, hide this message: temporarily or permanently

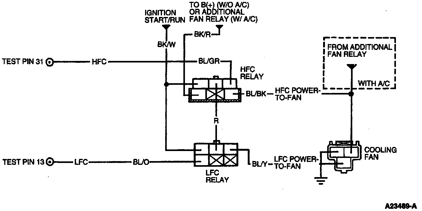
KF - Testing Schematic

Fan Control Diagram:









BOTH FANS OFF
LFC Pin 13 OFF
HFC Pin 31 OFF

LOW SPEED FAN ON
LFC Pin 13 ON
HFC Pin 31 OFF

HIGH SPEED FAN ON
LFC pin 13 OFF
HFC pin 31 ON*

* Or ACPSW medium pressure contacts closed.

NOTE: "ON" indicates the Powertrain Control Module is grounding the circuit.