Operation CHARM: Car repair manuals for everyone.
Manuals through 2025 now available!

Our trusted friends have launched a new website named LEMON, which has newer manuals. It also contains all the CHARM manuals.

LEMON is the spiritual successor to CHARM, I recommend you try it!

Link: lemon-manuals.la or lemon-manuals.org.ua

(Some people have issue connecting. LEMON is investigating. For now, use Firefox or change your DNS server)

Or, hide this message: temporarily or permanently

Heating System

CLIMATE CONTROL ASSEMBLY
The climate control assembly is located in the instrument panel at the right of the steering column.







The first three knob on the heater control system functions. The fourth knob is for auxiliary heating control (if equipped).
- The air flow control or function selector knob is a vacuum selector valve combined with an internal electrical switch.
- The temperature control knob controls the position of the A/C electronic door actuator motor, which is mounted on the A/C evaporator housing.
- The blower motor control knob is an electrical switch that provides four speeds of heater blower motor operation.

Air Flow Control
Air flow control is accomplished in the following manner:
- Primary control is through the function selector knob, mounted on the A/C damper door switch, which is part of the heater control.
- The function selector knob has the following positions: OFF, PANEL, PANEL/FLOOR, FLOOR, FLOOR/DEFROST and DEFROST
- The A/C damper door switch combines a vacuum selector valve with an internal electrical switch.
- The vacuum selector valve directs source vacuum to various vacuum control motors. Refer to the System Airflow Schematic and Vacuum Control Charts.
- An internal single-pole electrical switch is also controlled by the selector. The switch controls the electrical supply to the heater blower motor switch.
- The position of the function selector knob determines the manner in which the system will operate.
- Each position of the function selector knob is detented for positive engagement.

Temperature Control
The temperature control operates in the following manner:
- Temperature control of the heater system is determined by the position of the temperature control knob (between COOL [Blue] and WARM [Red]) of the heater control.







- This control knob is connected to a potentiometer mounted in the heater control. This potentiometer is electrically connected to the A/C electronic door actuator motor that operates the A/C air temperature control door.
- Movement of the control knob from COOL (Blue) to WARM (Red) causes a corresponding movement on the air temperature control door and determines the temperature that the system will maintain.

The system uses a reheat method to provide conditioned air to the passenger compartment.
- All airflow from the blower motor passes through the A/C evaporator housing.
- Temperature is then regulated by reheating a portion of the air and blending it with the remaining cool air to the desired temperature.
- Temperature blending is varied by the air temperature control door, which regulates the amount of air that flows through and/or around the heater core, where it is then mixed and distributed.

Blower Motor Control
On the manual system, heater blower motor operation is controlled by the heater blower motor switch which is part of the heater control.
- The heater blower motor switch provides four manually-selected blower speeds and may be operated in any position to select the desired amount of airflow.
- The heater blower motor switch and the heater blower motor switch resistor are positioned in the ground circuit of the blower motor.
- The location protects the heater blower motor switch and heater blower motor switch resistor from damage if a short circuit occurs in the wiring harness by operating the blower motor to use the electrical power.







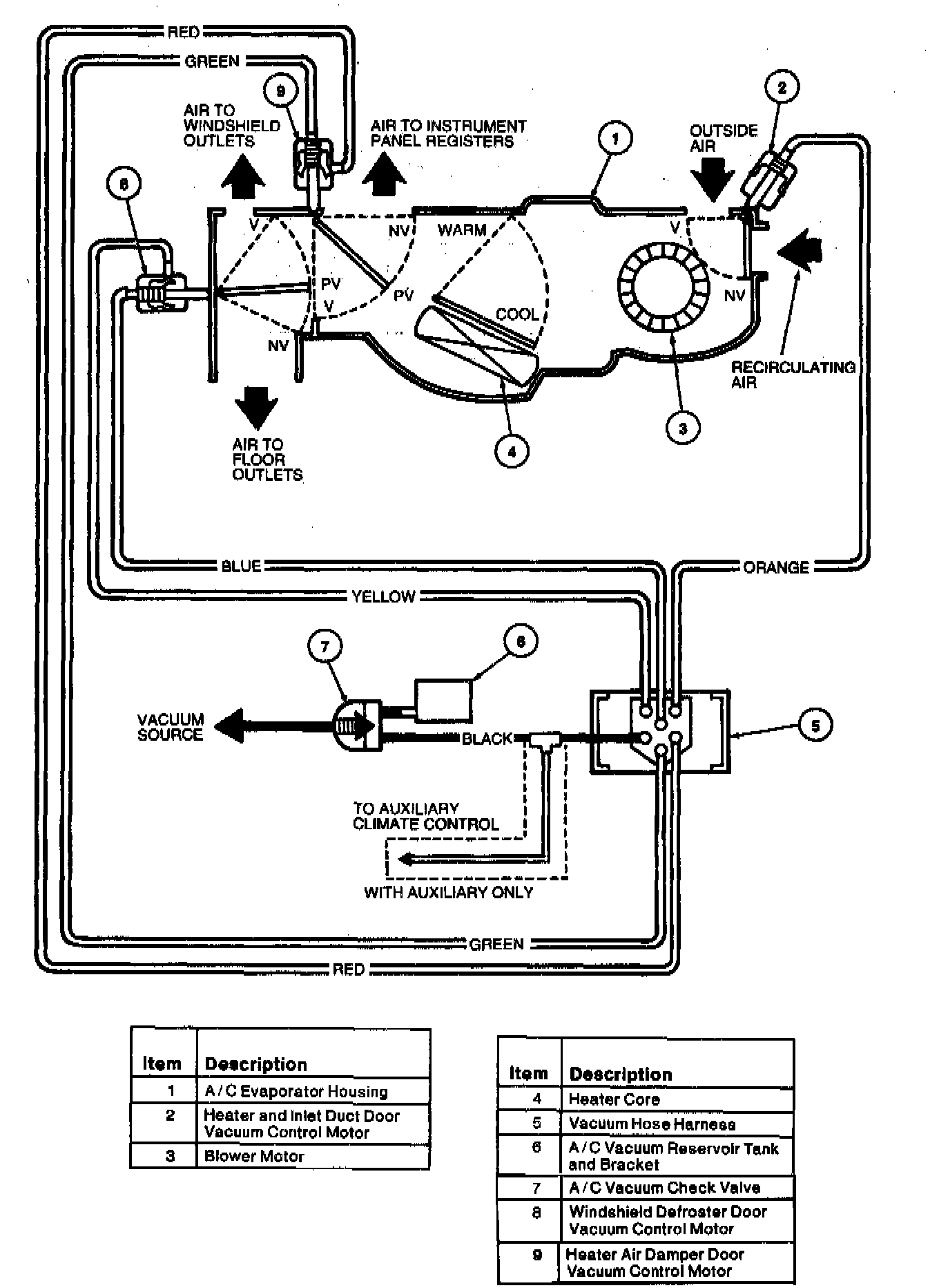
- Vacuum Control Diagram







- Vacuum Control Chart







- Switch Airflow Schematic - OFF, PANEL, PANEL/FLOOR







- Switch Airflow Schematic - FLOOR, FLOOR/DEFROST, DEFROST


SYSTEM AIRFLOW
The illustrations contain system vacuum schematics and vacuum motor charts which show vacuum routings and airflow when the controls are set at their various positions. Vacuum control motor charts illustrate vacuum line routings and air distribution during the various system operating conditions.

OFF
When the function selector knob is in the OFF position:
- the A/C damper inlet door is at full vacuum. As a result, outside air is closed off and recirc air is admitted to the system.
- the heater air damper door is at no vacuum and the windshield defroster door is at full vacuum, closing off the passages to the windshield defroster hose nozzle.
- the air temperature control door position may be anywhere within its range of adjustment from FULL HEAT to FULL COOL.
- the blower motor is off.

PANEL
When the function selector knob is in the PANEL position:
- the A/C damper inlet door, with no vacuum being applied, will block recirc air and admit outside air. From there, airflow is directed through the system to the instrument panel A/C registers.
- the heater air damper door is at full vacuum to block airflow to the heater outlet floor duct.
- the windshield defroster door is at full vacuum, closing off airflow to the windshield defroster hose nozzle.
- the temperature setting can be changed manually as desired.
- the blower motor is on.

PANEL/FLOOR
When the function selector knob is in the PNL/FLR position:
- the A/C damper inlet door is in the no vacuum position, blocking recirculating air and admitting outside air.
- the heater air damper door is in the partial vacuum position, allowing airflow to both the heater outlet floor duct and A/C register.
- the windshield defroster door is at full vacuum, closing off airflow to the windshield defroster hose nozzle.
- the temperature setting can be changed manually as desired.
- the blower motor is on.

FLOOR
When the function selector knob is in the FLOOR position:
- the A/C damper inlet door is in the no vacuum position to block recirc air and admit outside air.
- the heater air damper door is in the no vacuum position closing off airflow to the A/C registers.
- the A/C air temperature control door can be positioned to mix air flowing through the heater core and air from outside to achieve the desired temperature level.
- the windshield defroster door is in the full vacuum position to block air circulation to the windshield defroster hose nozzle.
- the blower motor is on.

FLOOR/DEFROST
When the function selector knob is in the FLR/DEF position:
- the A/C damper inlet door and the heater air damper door are in the no vacuum position.
- the windshield defroster door is in the partial vacuum position allowing airflow to both heater outlet floor duct and windshield defroster hose nozzle.
- the blower motor is on.

DEFROST
When the function selector knob is in the DEFROST position:
- the A/C damper inlet door is in the no vacuum position to admit outside air.
- both the heater air damper door and the windshield defroster door are in the no vacuum position so that most of the incoming air is directed to the windshield defroster hose nozzle. There is also airflow to the A/C side window demister and hose.
- the temperature control knob setting will determine the amount of heat being introduced into the airflow.
- the blower motor is on.