Operation CHARM: Car repair manuals for everyone.
Manuals through 2025 now available!

Our trusted friends have launched a new website named LEMON, which has newer manuals. It also contains all the CHARM manuals.

LEMON is the spiritual successor to CHARM, I recommend you try it!

Link: lemon-manuals.la or lemon-manuals.org.ua

(Some people have issue connecting. LEMON is investigating. For now, use Firefox or change your DNS server)

Or, hide this message: temporarily or permanently

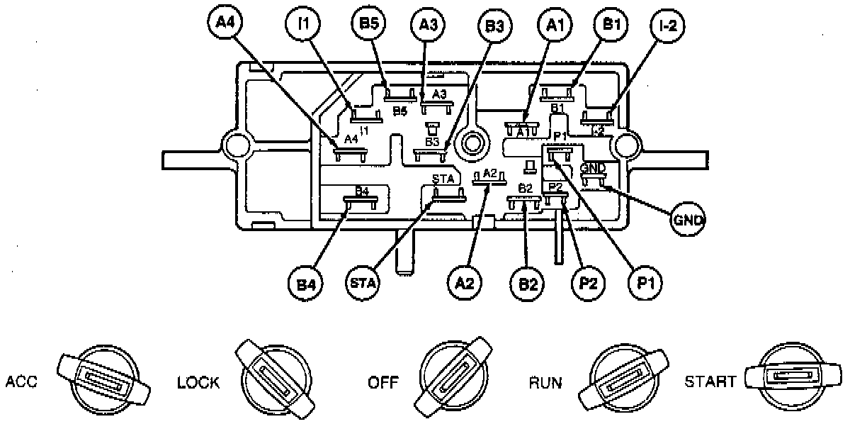
Continuity Test







NOTE: For an engine won't crank condition, determine if the condition exists with the gearshift lever in both Park and Neutral positions before performing the ignition switch continuity tests. If the no-crank condition occurs in one shift lever position but not the other, a more probable cause is the TR sensor.

Disconnect ignition key warning switch terminal and wire from the ignition switch. Test the continuity of the ignition switch as described in the illustration. Connect a self-powered test lamp or ohmmeter between the blade terminals indicated on the chart. No continuity between any blade and chassis ground should exist in any ignition switch position except the proof Circuit 41 (BK/LG) (Pin P1) and Circuit 977 (P/W) (Pin P2) in the START position only.

Switch Position Continuity Should Exist Only Between
ACC A-1 Through B-5
LOCK No Continuity
OFF No Continuity
RUN A-1 and B-1, A-2 and B-2, A-3 and B-3,
A-4 and B-4, 1-1 and B-5
START 1-1 and B-5, 1-2 and B-1, STA and B-4,
P-1 and GRD, P-2 and GRD.