Operation CHARM: Car repair manuals for everyone.
Manuals through 2025 now available!

Our trusted friends have launched a new website named LEMON, which has newer manuals. It also contains all the CHARM manuals.

LEMON is the spiritual successor to CHARM, I recommend you try it!

Link: lemon-manuals.la or lemon-manuals.org.ua

(Some people have issue connecting. LEMON is investigating. For now, use Firefox or change your DNS server)

Or, hide this message: temporarily or permanently

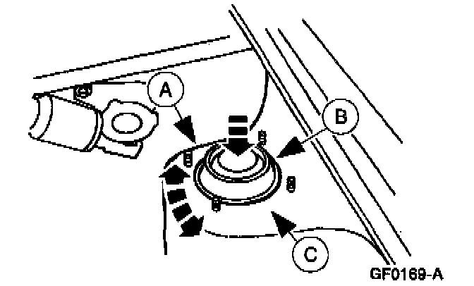
Caster and Camber

1. Raise and support the vehicle.





2. Remove the front shock absorber upper mounting bracket nuts.





3. Push the front shock absorber upper mounting bracket downward and turn it to the desired position to set camber and caster.
Direction Indicator: Difference From Standard Position
A: Camber +14 minutes, Caster, +14 minutes
B: Camber +29 minutes, Caster, 0 degrees
C: Camber +14 minutes, Caster, -14 minutes





4. Tighten the upper mounting bracket nuts.