Operation CHARM: Car repair manuals for everyone.
Manuals through 2025 now available!

Our trusted friends have launched a new website named LEMON, which has newer manuals. It also contains all the CHARM manuals.

LEMON is the spiritual successor to CHARM, I recommend you try it!

Link: lemon-manuals.la or lemon-manuals.org.ua

(Some people have issue connecting. LEMON is investigating. For now, use Firefox or change your DNS server)

Or, hide this message: temporarily or permanently

Starter Motor: Service and Repair

REMOVAL

CAUTION: When repairing the starter motor or performing other underhood work in the vicinity of the starter motor, be aware that the heavy gauge battery input lead at the starter solenoid is "electrically hot" at all times.

1. Disconnect the battery ground cable.
2. Remove the air cleaner outlet tube.







3. Remove the top two starter motor bolts.
4. Raise and support the vehicle.







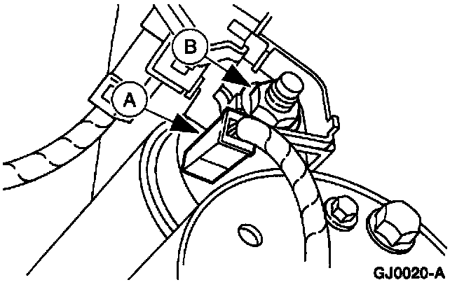
5. Disconnect the (A) S-terminal wire, and the (B) B-terminal nut and cable from the starter motor.

NOTE: A protective cap is installed over the B-terminal and must be replaced after servicing the starter motor and solenoid assembly.







6. Remove the lower starter motor bolt and remove the starter motor and solenoid assembly.

INSTALLATION












1. Follow the removal procedure in reverse order.