Operation CHARM: Car repair manuals for everyone.
Manuals through 2025 now available!

Our trusted friends have launched a new website named LEMON, which has newer manuals. It also contains all the CHARM manuals.

LEMON is the spiritual successor to CHARM, I recommend you try it!

Link: lemon-manuals.la or lemon-manuals.org.ua

(Some people have issue connecting. LEMON is investigating. For now, use Firefox or change your DNS server)

Or, hide this message: temporarily or permanently

Back Window Glass: Service and Repair






SPECIAL TOOL(S) RECOMMENDED

REMOVAL







1. Disconnect the heated back window electrical connector.
2. Remove the rear wiper pivot arm (Wagon only).
3. Remove the rear hi-mount lamp (Wagon only).
4. Lower the rear portion of the headliner.
5. Remove the package trim panel.







6. Use Interior Auto Glass Cut-Out Knife Kit to cut the urethane sealant and remove the [1][2]back window glass.

WARNING: TO PREVENT GLASS SPLINTERS FROM ENTERING EYES OR CUTTING HANDS, WEAR SAFETY GLASSES AND HEAVY GLOVES WHEN CUTTING GLASS FROM THE VEHICLE.

NOTE: Lubricate the urethane sealant where it meets the glass with water to aid Interior Auto Glass Cut-Out Knife Kit when cutting the urethane sealant.

7. Clean any debris or dirt from the pinch weld area.







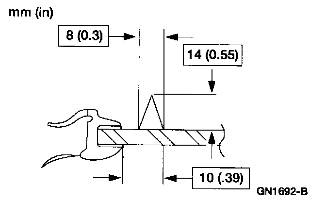
8. Trim the remaining urethane on the pinch weld to the specified thickness.
- Use the supplied Wool applicator to apply Urethane Metal Primer meeting Ford specification WSB-M2G234-C to any exposed metal on the pinch weld.
- If reusing the [1][2]back window glass, remove all old urethane sealant with a clean, new razor blade.

INSTALLATION







1. Dry set the [1][2]back window glass.
- Position the [1][2]back window glass in the pinch weld.
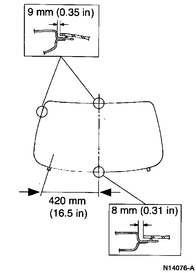
- Align the [1][2]back window glass from the bottom center point of the glass out to the two spacers at the bottom of the pinch weld.
- Align the gap of the [1][2]back window glass at the top and sides of the back window glass edge to the pinch weld edge.
- Mark the [1][2]back window glass and the body when aligned.
- Remove the [1][2]back window glass from the pinch weld and clean the inside of the back window glass with an alcohol-free cleaner and wipe the edge of the glass with a clean cloth.

NOTE: Keep glass and body surfaces free of dirt, water, and oil. Do not touch coated surfaces with your hands.







2. Install the (A) [1][2]back window glass moulding on the (B) back window glass perimeter.







3. Apply Urethane Glass Prep meeting Ford specification WSB-M5B280-C and repeat the application.
- Apply Urethane Glass Prep to the [1][2]back window glass directly inside the back window glass moulding on the blackout ceramic coating.
- Immediately wipe off Urethane Glass Prep.
- Repeat Urethane Glass Prep application.

NOTE: Immediately wipe off the urethane glass prep after application because it flash dries.







4. Apply Urethane Glass Primer meeting Ford specification WSB-M2G314-B.
- Apply Urethane Glass Primer around the entire outer edge of the inside of the [1][2]back window glass directly inside the back window glass moulding.
- Allow ten minutes drying time.

CAUTION:
- If primer gets on your hands, remove it immediately.
- Do not apply the urethane glass primer inside of the blackout ceramic coating. The primer will permanently discolor the [1][2]back window glass.







5. Cut the nozzle of the urethane sealant canister to specification.







6. Apply a bead of Urethane Adhesive around the pinch weld on top of the remaining bead of urethane.
- Ensure that the bead of Urethane Adhesive is smooth and even. If necessary, reshape the bead with a suitable tool, using care not to trap air in the bead.

CAUTION:
- Use only Urethane Adhesive meeting Ford specification WSB-M2G316-B to repair water and air leaks in the urethane adhesive.
- After replacing the urethane installed glass, the vehicle should not be driven until the urethane has cured. The curing time at 21°C (70°F) and 50% relative humidity is 24 hours (decreasing at higher temperatures and higher humidities). Refer to the detailed instructions provided by the manufacturer in the kit. Inadequate curing of the urethane may adversely affect the strength of the urethane adhesive bond.

NOTE: Ensure that Urethane Metal Primer is clean and dry.







7. Use the alignment marks to install the [1][2]back window glass.

CAUTION: Open the windows to prevent the [1][2]back window glass from being pushed out by air pressure if a door is closed.

8. After the Urethane Adhesive has cured, check for water leaks and add Urethane Adhesive where needed.

CAUTION:
- Use only Urethane Adhesive meeting Ford specification WSB-M2G316-B to repair water and air leaks of the urethane sealant.
- After replacing the urethane installed glass, the vehicle should not be driven until the urethane has cured. The curing time at 21°C (70°F) and 50% relative humidity is 24 hours (decreasing at higher temperatures and higher humidities). Refer to the detailed instructions provided by the manufacturer in the kit. Inadequate curing of the urethane may adversely affect the strength of the urethane adhesive bond.







9. Connect the heated back window electrical connector.
10. Install the rear window wiper pivot arm (Wagon only).
11. Install rear hi-mount lamp (Wagon only).
12. Install the rear portion of the headliner.
13. Install the package tray.