Operation CHARM: Car repair manuals for everyone.
Manuals through 2025 now available!

Our trusted friends have launched a new website named LEMON, which has newer manuals. It also contains all the CHARM manuals.

LEMON is the spiritual successor to CHARM, I recommend you try it!

Link: lemon-manuals.la or lemon-manuals.org.ua

(Some people have issue connecting. LEMON is investigating. For now, use Firefox or change your DNS server)

Or, hide this message: temporarily or permanently

Windshield Glass






SPECIAL TOOL(S) RECOMMENDED

REMOVAL
1. Remove the inside rear view mirror.
2. Remove the cowl top vent panel.
3. Lower the front portion of the headliner.







4. Pry up the end of the windshield outside moulding.
^ Twist and pull to remove.







5. Use Interior Auto Glass Cut-Out Knife Kit to cut the Urethane Adhesive and remove the [1][2]windshield glass.

WARNING: TO PREVENT GLASS SPLINTERS FROM ENTERING EYES OR CUTTING HANDS, WEAR SAFETY GLASSES AND HEAVY GLOVES WHEN CUTTING GLASS FROM THE VEHICLE.

NOTE: Lubricate the Urethane Adhesive where it meets the glass with water to aid Interior Auto Glass Cut-Out Knife Kit when cutting the Urethane Sealant.







6. Insert the Pumper at the top of the [1][2]windshield glass. Gently push the windshield glass outward from the inside of the vehicle to ensure the Urethane Adhesive seal is broken.







7. Use a razor blade knife to cut any remaining urethane that is still holding the [1][2]windshield glass and remove the windshield glass.
^ Clean the pinch weld with a clean lint-free cloth and water to remove dirt and debris.







8. Trim the remaining urethane on the pinch weld to the specified thickness.
^ Apply Urethane Metal Primer meeting Ford specification WSB-M2G234-C to any exposed metal on the pinch weld. Allow ten minutes drying time.
^ If reusing the [1][2]windshield glass, clean off all of the old Urethane Adhesive with a razor blade then with an alcohol-free glass cleaner.

INSTALLATION







1. Dry set the [1][2]windshield glass.
^ Position the [1][2]windshield glass in the pinch weld.
^ Align the [1][2]windshield glass from the bottom center point of the glass out to the two spacers at the bottom of the pinch weld.
^ Align the gap of the [1][2]windshield glass at the top and sides of the [1][2]back window glass edge to pinch the weld edge.
^ Mark the [1][2]windshield glass and the body when aligned.
^ Remove the [1][2]windshield glass from the pinch weld and clean the [1][2]back window glass inside perimeter with an alcohol-free cleaner and wipe with a clean cloth.

NOTE: Keep glass and body surfaces free of dirt, water, and oil. Do not touch coated surfaces with your hands.







2. Apply Urethane Glass Prep meeting Ford specification WSB-M5B280-C and repeat the application.
^ Apply Urethane Glass Prep to the [1][2]windshield glass directly inside the blackout ceramic coating.
^ Immediately wipe off Urethane Glass Prep.
^ Repeat Urethane Glass Prep application.

NOTE: Immediately wipe off the Urethane Glass Prep after application because it flash dries.







3. Use the supplied wool applicator to apply Urethane Glass Primer meeting Ford specification WSB-M2G314-B.
^ Apply Urethane Glass Primer around the entire outer edge of the inside of the [1][2]windshield glass directly inside the blackout ceramic coating.
^ Allow ten minutes drying time.

WARNING: IF PRIMER GETS ON YOUR HANDS, REMOVE IT IMMEDIATELY. WEAR RUBBER, LATEX OR NITRILE GLOVES WHEN WORKING WITH PRIMERS AND URETHANE ADHESIVE.

CAUTION: Do not apply Urethane Glass Primer inside of the blackout ceramic coating. The primer will permanently discolor the [1][2]windshield glass.







4. Install Norton Foam Sealants 565 Black Foam Tape or equivalent meeting Ford specification ESB-M3G77-A.
^ Start at the bottom of the [1][2]windshield glass and install the tape all the way around the inside of the perimeter to specification.







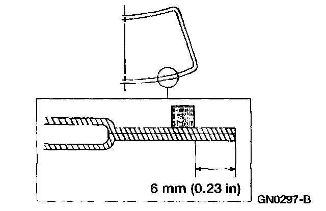
5. Cut the nozzle of the Urethane Sealant canister to specification.







6. Install the windshield outside moulding around the top and sides of the [1][2]windshield glass then tape to hold in place.
1 Align the marks on the windshield outside moulding.
2 Install the top portion of the windshield outside moulding.
3 Install the comers of the windshield outside moulding.
4 Install the sides of the windshield outside moulding from the top down.







7. Apply a bead of Urethane Adhesive to the pinch weld on top of the existing bead of urethane.

CAUTION:
^ Use only Urethane Adhesive meeting Ford specification WSB-M2G316-B to repair water and air leaks in the urethane sealant.
^ After replacing the urethane installed glass, the vehicle should not be driven until the urethane has cured. The curing time at 21°C (70°F) and 50% relative humidity is 24 hours (decreasing at higher temperatures and higher humidities). Refer to the detailed instructions provided by the manufacturer in the kit. Inadequate curing of the urethane may adversely affect the strength of the urethane adhesive bond.

NOTE: Ensure that Urethane Metal Primer is clean and dry.







8. Use the bottom spacers and alignment marks to install the [1][2]windshield glass.

CAUTION: Open the windows slightly to prevent the [1][2]windshield glass from being pushed out by air pressure when a door is closed.

9. After the Urethane Sealant has cured, check for water leaks and add Urethane Sealant (part of E0AZ-19562-A) where needed.

CAUTION:
^ Use only Urethane Adhesive meeting Ford specification WSB-M2G316-B to repair water and air leaks in the urethane sealant.
^ After replacing the urethane installed glass, the vehicle should not be driven until the urethane has cured. The curing time at 21°C (70°F) and 50% relative humidity is 24 hours (decreasing at higher temperatures and higher humidities). Refer to the detailed instructions provided by the manufacturer in the kit. Inadequate curing of the urethane may adversely affect the strength of the urethane adhesive bond.

10. Install the rear portion of the headliner.
11. Ins tall the cowl top vent panel.
12. Install the inside rear view mirror.