Operation CHARM: Car repair manuals for everyone.
Manuals through 2025 now available!

Our trusted friends have launched a new website named LEMON, which has newer manuals. It also contains all the CHARM manuals.

LEMON is the spiritual successor to CHARM, I recommend you try it!

Link: lemon-manuals.la or lemon-manuals.org.ua

(Some people have issue connecting. LEMON is investigating. For now, use Firefox or change your DNS server)

Or, hide this message: temporarily or permanently

Compressor Fitting HVAC: Service and Repair

REMOVAL
1. Disconnect the battery ground cable.
2. Recover the refrigerant.







3. Remove the manifold and tube assembly.
1 Remove the manifold to compressor bolt.
2 Remove the manifold and tube assembly.







4. Disconnect the A/C pressure cut-off switch electrical connector.







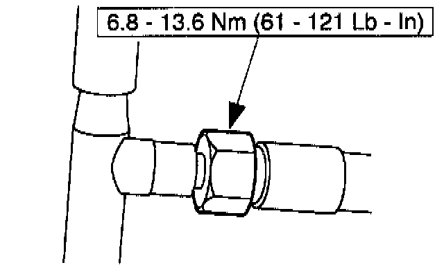
5. Disconnect the manifold and tube fitting at the suction accumulator/drier.







6. Disconnect the A/C condenser core inlet line.
1 Remove the nut.
2 Disconnect the A/C condenser core inlet lines.







7. Remove the A/C pressure cut-off switch.

INSTALLATION






















1. Follow the removal procedure in reverse order.
- Lubricate the O-ring seals with Motorcraft YN-12b refrigerant oil F2AZ-19577-AB or equivalent meeting Ford specification WSH-M1C231-B.
- Apply Pipe Sealant with Teflon(R) D8AZ-19554-A or equivalent meeting Ford specifications WSK-M2G350-A2 and ESR-M18P7-A to the threads of the A/C manifold retaining bolt.