Operation CHARM: Car repair manuals for everyone.
Manuals through 2025 now available!

Our trusted friends have launched a new website named LEMON, which has newer manuals. It also contains all the CHARM manuals.

LEMON is the spiritual successor to CHARM, I recommend you try it!

Link: lemon-manuals.la or lemon-manuals.org.ua

(Some people have issue connecting. LEMON is investigating. For now, use Firefox or change your DNS server)

Or, hide this message: temporarily or permanently

Starter Motor: Service and Repair

REMOVAL

WARNING
^ WHEN PERFORMING MAINTENANCE ON THE STARTING SYSTEM BE AWARE THAT THE HEAVY GAUGE LEADS ARE CONNECTED DIRECTLY TO THE BATTERY. MAKE SURE THE PROTECTIVE CAPS ARE IN PLACE WHEN THE MAINTENANCE IS COMPLETE.
^ THE ELECTRICAL POWER TO THE AIR SUSPENSION SYSTEM MUST BE SHUT OFF PRIOR TO HOISTING, JACKING OR TOWING AN AIR SUSPENSION VEHICLE. THIS CAN BE ACCOMPLISHED BY TURNING OFF THE AIR SUSPENSION SWITCH LOCATED IN THE RH KICK PANEL AREA. FAILURE TO DO SO MAY RESULT IN UNEXPECTED INFLATION OR DEFLATION OF THE AIR SPRINGS WHICH MAY RESULT IN SHIFTING OF THE VEHICLE DURING THESE OPERATIONS.


1. Disconnect the battery ground cable.
2. Raise and support the vehicle.







3. Remove the starter motor solenoid terminal cover.







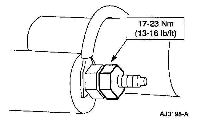
4. Remove the nuts.







5. Remove the nut.







6. Remove the bolt and stud nut and remove the starter motor.

INSTALLATION

















1. Follow the removal procedure in reverse order.

WARNING: WHEN PERFORMING MAINTENANCE ON THE STARTING SYSTEM BE AWARE THAT THE HEAVY GAUGE LEADS ARE CONNECTED DIRECTLY TO THE BATTERY. MAKE SURE THE PROTECTIVE CAPS ARE IN PLACE WHEN THE MAINTENANCE IS COMPLETE.