Operation CHARM: Car repair manuals for everyone.
Manuals through 2025 now available!

Our trusted friends have launched a new website named LEMON, which has newer manuals. It also contains all the CHARM manuals.

LEMON is the spiritual successor to CHARM, I recommend you try it!

Link: lemon-manuals.la or lemon-manuals.org.ua

(Some people have issue connecting. LEMON is investigating. For now, use Firefox or change your DNS server)

Or, hide this message: temporarily or permanently

Starter Relay: Service and Repair

REMOVAL

WARNING: WHEN PERFORMING MAINTENANCE ON THE STARTING SYSTEM BE AWARE THAT THE HEAVY GAUGE LEADS ARE CONNECTED DIRECTLY TO THE BATTERY. MAKE SURE THE PROTECTIVE CAPS ARE IN PLACE WHEN THE MAINTENANCE IS COMPLETE.

1. Disconnect the battery ground cable.
2. Remove the relay cover.







3. Disconnect the starter motor solenoid relay switch wires and cables.
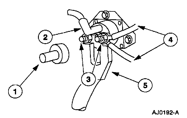
1. Remove the insulator.
2. Disconnect the ignition switch signal wire.
3. Remove the nuts.
4. Remove the engine control sensor wire and the generator wire.
5. Remove the battery cables.







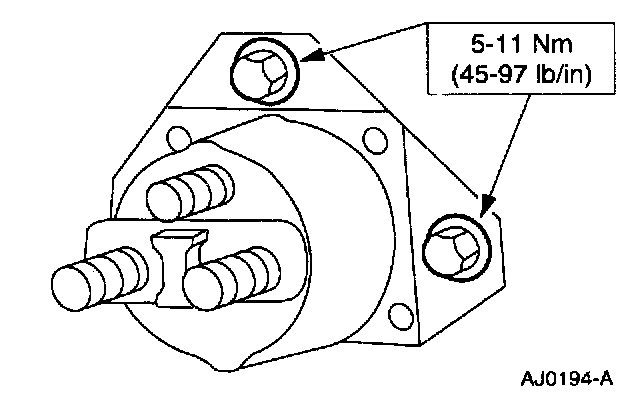
4. Remove the bolts and remove the starter motor solenoid relay switch.

INSTALLATION












1. Follow the removal procedure in reverse order.

WARNING: WHEN PERFORMING MAINTENANCE ON THE STARTING SYSTEM BE AWARE THAT THE HEAVY GAUGE LEADS ARE CONNECTED DIRECTLY TO THE BATTERY. MAKE SURE THE PROTECTIVE CAPS ARE IN PLACE WHEN THE MAINTENANCE IS COMPLETE.