Operation CHARM: Car repair manuals for everyone.
Manuals through 2025 now available!

Our trusted friends have launched a new website named LEMON, which has newer manuals. It also contains all the CHARM manuals.

LEMON is the spiritual successor to CHARM, I recommend you try it!

Link: lemon-manuals.la or lemon-manuals.org.ua

(Some people have issue connecting. LEMON is investigating. For now, use Firefox or change your DNS server)

Or, hide this message: temporarily or permanently

Vehicle Speed Sensor: Service and Repair

REMOVAL
1. If equipped, turn the air suspension switch OFF.
2. Disconnect the battery ground cable.
3. Raise the vehicle on a hoist.





4. Remove the Vehicle Speed Sensor (VSS).
1 Disconnect the VSS electrical connector.
2 Remove the bolt.
3 Remove the VSS.





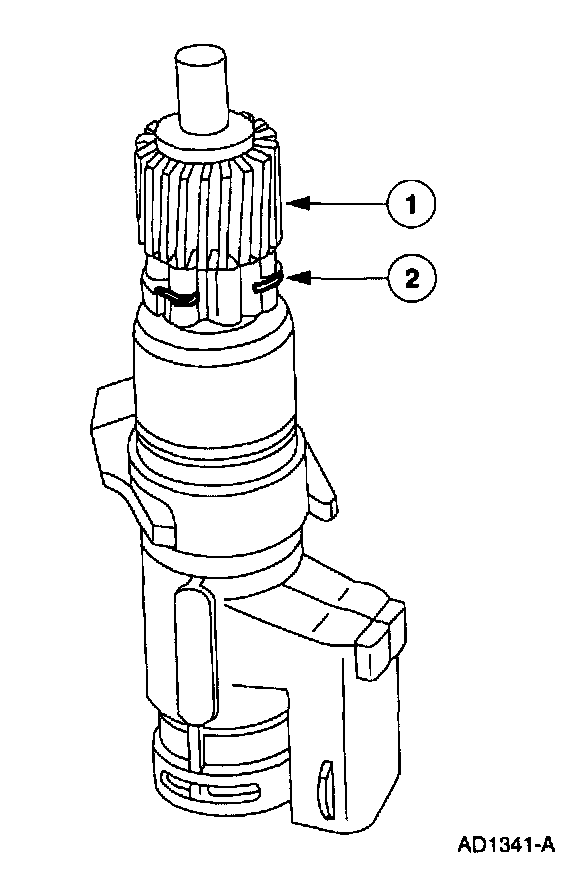
5. Remove the vehicle speed sensor driven gear.
1 Remove the retaining clip.
2 Remove the driven gear.

INSTALLATION





1. Install the vehicle speed sensor driven gear.
1 Install the driven gear.
2 Install the retaining clip.





2. Install the Vehicle Speed Sensor (VSS).
1 Install the VSS.
2 Install the bolt.
3 Connect the electrical connector.
3. Lower the vehicle.
4. Connect the battery ground cable.
5. If equipped with air suspension, reactivate the system by turning on the air suspension switch.