Operation CHARM: Car repair manuals for everyone.
Manuals through 2025 now available!

Our trusted friends have launched a new website named LEMON, which has newer manuals. It also contains all the CHARM manuals.

LEMON is the spiritual successor to CHARM, I recommend you try it!

Link: lemon-manuals.la or lemon-manuals.org.ua

(Some people have issue connecting. LEMON is investigating. For now, use Firefox or change your DNS server)

Or, hide this message: temporarily or permanently

Synchronizer





NOTE: Ford does not provide a TDC (Top Dead Center) mark or determination procedure for this engine in this vehicle.
ALLDATA users have reported success using aftermarket tools to determine TDC on this engine.







Removal

CAUTION: Prior to the removal of the camshaft position sensor (CMP sensor), set the No.1 cylinder to top dead center (TDC) of compression stroke. Then note the position of the CMP sensor electrical connector. Installation procedures require that the electrical connector be located in the same position.

CAUTION: Once the engine is aligned at TDC, do not move the crankshaft until the entire procedure is complete. Doing so will result in the fuel system being out of time with the engine, causing a possible emissions fault.

1. Disconnect the battery ground cable.

2. Remove the upper intake manifold.








3. Remove the camshaft position (CMP) sensor.
1. Disconnect the CMP sensor electrical connector.
2. Remove CMP sensor screws.
3. Remove the CMP sensor.






4. Remove the camshaft synchronizer.
1. Remove the camshaft synchronizer bolt and clamp.
2. Remove the camshaft synchronizer.


Installation






CAUTION: Failure to follow this procedure will result in the fuel system being out of time with the engine, possibly causing engine damage.


1. Install the special tool, aligning tabs and notches with those on the camshaft synchronizer.






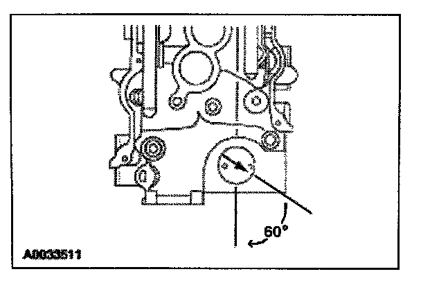
2. Install the camshaft synchronizer into the cylinder block with the special tool attached. The arrow on the special tool should be pointing to 60 degrees off the engine centerline.

3. Rotate the tool clockwise slightly to engage the oil pump intermediate shaft. Continue the downward motion, twisting the tool lightly until the synchronizer gear engages the camshaft gear.







4. The synchronizer clamp flange should be fully seated against the cylinder block. The arrow on the alignment tool and the key should point rearward 15 degrees off the engine centerline to the right.






5. Position the clamp and install the bolt.






6. Remove the special tool.






7. Install the camshaft position (CMP) sensor.
1. Position the CMP sensor.
2. Install the CMP screws.
3. Connect the CMP sensor electrical connector.

8. Connect the battery ground cable.