Operation CHARM: Car repair manuals for everyone.
Manuals through 2025 now available!

Our trusted friends have launched a new website named LEMON, which has newer manuals. It also contains all the CHARM manuals.

LEMON is the spiritual successor to CHARM, I recommend you try it!

Link: lemon-manuals.la or lemon-manuals.org.ua

(Some people have issue connecting. LEMON is investigating. For now, use Firefox or change your DNS server)

Or, hide this message: temporarily or permanently

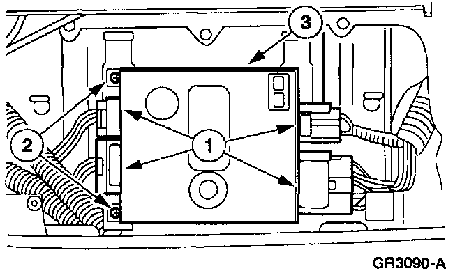
Power Seat Control Module: Service and Repair

REMOVAL

CAUTION: Electronic modules are sensitive to static electrical charges. If exposed to these charges, damage may result.

1. Remove the seat track assembly.







2. Remove the Driver Seat Module (DSM).
1 Disconnect the electrical connectors.
2 Remove the screws.
3 Remove the DSM.

INSTALLATION

CAUTION: Electronic modules are sensitive to static electrical charges. If exposed to these charges, damage may result,







1. Install the DSM.
1 Position the DSM.
2 Install the screws.
3 Connect the electrical connectors.
2. Install the seat track.