Operation CHARM: Car repair manuals for everyone.
Manuals through 2025 now available!

Our trusted friends have launched a new website named LEMON, which has newer manuals. It also contains all the CHARM manuals.

LEMON is the spiritual successor to CHARM, I recommend you try it!

Link: lemon-manuals.la or lemon-manuals.org.ua

(Some people have issue connecting. LEMON is investigating. For now, use Firefox or change your DNS server)

Or, hide this message: temporarily or permanently

Torque Specifications



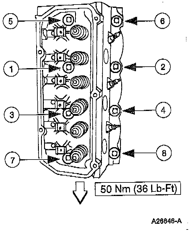
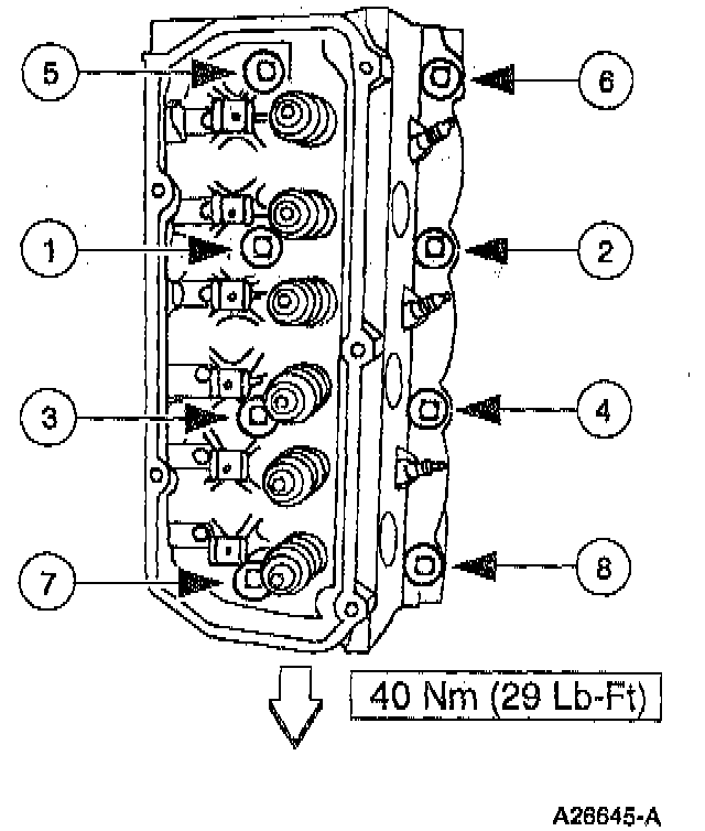
TORQUE SPECIFICATIONS - Cylinder Head Bolts

CAUTION: Always use new cylinder head bolts.

NOTE: Lubricate the cylinder head bolts with engine oil prior to installation.






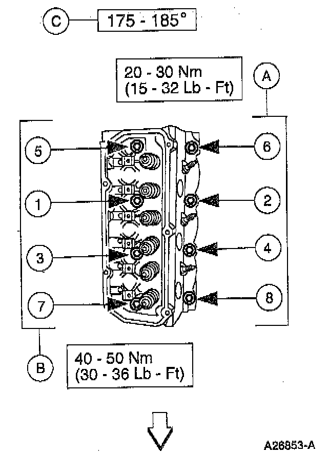
Install the four new (A) short cylinder head bolts and the four new (B) long cylinder head bolts.

NOTE: Make sure to tighten the cylinder head bolts in three steps.






Tighten the cylinder head bolts to 14 Lb-Ft in the sequence shown.






Tighten the cylinder head bolts to 29 Lb-Ft in the sequence shown.






Tighten the cylinder head bolts to 36 Lb-Ft in the sequence shown.






CAUTION: Do not loosen all of the cylinder head bolts at one time. Each cylinder head bolt must be loosened and the final tightening prior to working on the next bolt in the sequence.

In the sequence shown, loosen the cylinder head bolt three turns, then tighten the (A) short cylinder head bolt or the (B) long cylinder head bolt to the specification indicated and then tighten the cylinder head bolt the (C) degree indicated.