Operation CHARM: Car repair manuals for everyone.
Manuals through 2025 now available!

Our trusted friends have launched a new website named LEMON, which has newer manuals. It also contains all the CHARM manuals.

LEMON is the spiritual successor to CHARM, I recommend you try it!

Link: lemon-manuals.la or lemon-manuals.org.ua

(Some people have issue connecting. LEMON is investigating. For now, use Firefox or change your DNS server)

Or, hide this message: temporarily or permanently

Windshield: Service and Repair

Interior Auto Glass Cut-Out Knife Kit:






Special Tool(s)


REMOVAL
1. Remove the cowl top vent panels.







2. Remove the assist handle screw covers.







3. Remove the assist handle screws.







4. Remove the assist handle.







5. Remove the LH and RH windshield side garnish mouldings.
6. Remove the inside rear view mirror.







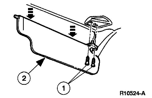
7. Remove the inside visor.
1 Remove the screws.
2 Remove the inside visor.







8. Remove the center visor clip.
1 Remove the screws.
2 Remove the center visor clip.

9. Lower the front portion of the roof trim panel.







10. Remove the upper windshield weatherstrip.







11. Remove the LH and RH windshield mouldings.
12. Mark the outside of the windshield glass with a wax pencil to avoid damaging the glass stops when cutting urethane.
13. Lubricate the urethane sealant with water to aid Interior Auto Glass Cut-Out Knife Kit when cutting the urethane sealant.







14. Use Interior Auto Glass Cut-Out Knife Kit to Cut the urethane from the windshield glass.
^ Insert the blade into the urethane at the top middle and work toward the bottom corners.

WARNING: TO PREVENT GLASS SPLINTERS FROM ENTERING THE EYES OR CUTTING HANDS, WEAR SAFETY GLASSES AND HEAVY GLOVES WHEN CUTTING THE GLASS FROM THE VEHICLE.

15. Trim the excess urethane from the outside edge of the windshield glass.







16. Carefully remove the windshield glass.

NOTE: Removing the windshield glass requires more than one technician.







17. Trim the remaining urethane on the pinch weld to within specification.
^ The old urethane surface should be smooth and free of cuts and contamination.

INSTALLATION

CAUTION: After replacing the urethane installed glass, the vehicle should not be driven until the urethane has cured. The curing times at temperatures above 13°C (55°F) and relative humidity above 50% is 12-24 hours (decreasing at higher temperatures and lower humidities). Inadequate curing of the urethane may adversely affect the strength of the urethane sealant bond.


1. Check the pinch weld for damaged sheet metal, raised sheet metal at the spot welds, rust or foreign material that could cause glass damage.
2. Use a wool applicator to apply Urethane Metal Primer (part of EOAZ-19562-A) or equivalent meeting Ford specification WSB-M2623-C to any exposed metal on the pinch weld.







3. Apply (A) 8mm foam butyl (part of EOAZ-19562-A) or equivalent meeting Ford specification WSB-M2G23-C to the (B) pinch weld.
4. Remove excess urethane from the windshield glass.
5. Clean the inside of the glass surface with an alcohol-free cleaner.
6. Apply Urethane Glass Prep (part of EOAZ-19562-A) or equivalent meeting Ford specification WSB-M2G234-C twice around the glass surface to be urethaned.

NOTE:
^ Apply with deliberate strokes, making sure not to overlap the applied area.
^ Wipe off the Urethane Glass Prep immediately after application because it flash dries.







7. Cut the urethane applicator tip to specification.







8. Apply a urethane bead to the pinch weld just outside the foam butyl dam.
9. Install the inside rear view mirror.







10. Position the windshield glass.







11. Install the upper windshield weatherstrip.
12. Paddle the excess urethane from the two sides of the windshield glass.

NOTE: Use one continuous stroke when removing the excess urethane.

13. If necessary. remove excess urethane from the outside surface of the windshield glass.







14. Install the LH and RH windshield mouldings.
15. Position the roof trim panel.







16. Install the center visor clip.
1 Position the center visor clip.
2 Install the screws.







17. Install the inside visor.
1 Position the inside visor.
2 Install the screws.







18. Install the LH and RH windshield side garnish mouldings.







19. Install the assist handle.
1 Position the assist handle.
2 Install the screws.
3 Install the covers.

20. Install the cowl top vent panel.