Operation CHARM: Car repair manuals for everyone.
Manuals through 2025 now available!

Our trusted friends have launched a new website named LEMON, which has newer manuals. It also contains all the CHARM manuals.

LEMON is the spiritual successor to CHARM, I recommend you try it!

Link: lemon-manuals.la or lemon-manuals.org.ua

(Some people have issue connecting. LEMON is investigating. For now, use Firefox or change your DNS server)

Or, hide this message: temporarily or permanently

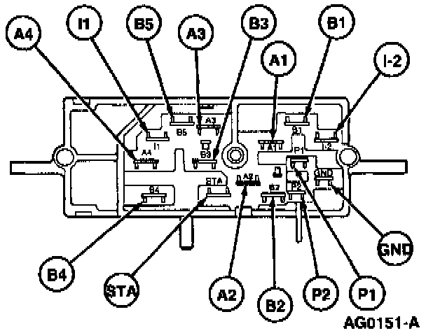
Ignition Switch Continuity Test





Disconnect the multiple connector from the ignition switch. Test the switch continuity. Connect a 73 Digital Multimeter 105-R0051 or equivalent between the blade terminals indicated. No continuity between any blade and the ground terminal should exist in any switch position except the proof and ground pins (P1, P2 and GND) in the START position only.

For a no crank condition, determine if the condition exists with the gearshift lever in both the PARK and NEUTRAL positions before performing the ignition switch continuity test. If the no-crank condition occurs with gearshift lever in one shift lever position but not the other, a more probable cause is the Transmission Range (TR) sensor located on the transmission.

With the ignition switch in OFF or LOCK there is no continuity between the battery terminals and any other terminals.

With ignition switch in RUN, there is continuity between:
B4-A4
B1-A1
B5-11
B2-A2
B3-AS

With ignition switch in START, there is continuity between:
B4-STA
B1-12
B5-11
GND-P1

With ignition switch in ACC, there is continuity between B5 and A1.