Operation CHARM: Car repair manuals for everyone.
Manuals through 2025 now available!

Our trusted friends have launched a new website named LEMON, which has newer manuals. It also contains all the CHARM manuals.

LEMON is the spiritual successor to CHARM, I recommend you try it!

Link: lemon-manuals.la or lemon-manuals.org.ua

(Some people have issue connecting. LEMON is investigating. For now, use Firefox or change your DNS server)

Or, hide this message: temporarily or permanently

Ignition Switch: Service and Repair

REMOVAL





1. Disconnect the battery ground cable.





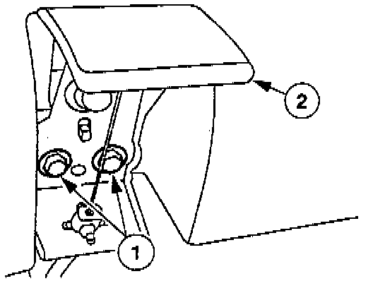
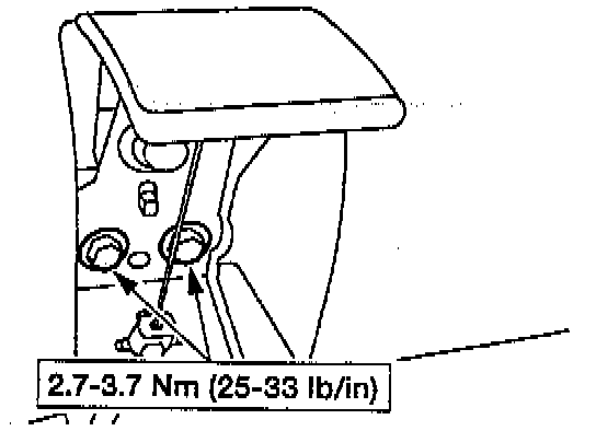
2. Detach the hood latch release handle and position aside.
(1) Remove the bolts.
(2) Position the hood latch release handle aside.





3. Remove the lower instrument panel steering column cover.
(1) Remove the screws.
(2) Remove the lower instrument panel steering column cover.





4. Remove the instrument panel steering column opening cover reinforcement.
(1) Remove the bolts.
(2) Remove the instrument panel steering column opening cover reinforcement.





5. Disconnect the electrical connector.
(1) Loosen the bolt.
(2) Disconnect the electrical connector.





6. Remove the ignition switch.
(1) Remove the screws.
(2) Remove the ignition switch.

NOTE: The ignition key should be in the OFF position.

INSTALLATION














1. To install, reverse the removal procedure.

NOTE: When the battery is disconnected and reconnected, some abnormal drive symptoms may occur while the vehicle relearns its adaptive strategy. The vehicle may need to be driven 16 km (10 mi) or more to relearn its strategy.