Operation CHARM: Car repair manuals for everyone.
Manuals through 2025 now available!

Our trusted friends have launched a new website named LEMON, which has newer manuals. It also contains all the CHARM manuals.

LEMON is the spiritual successor to CHARM, I recommend you try it!

Link: lemon-manuals.la or lemon-manuals.org.ua

(Some people have issue connecting. LEMON is investigating. For now, use Firefox or change your DNS server)

Or, hide this message: temporarily or permanently

Intake Air Systems

Intake Air System:





OVERVIEW
The Intake Air system provides clean air to the engine, optimizes air flow and reduces unwanted induction noise. The Intake Air System consists of an air cleaner assembly, resonator assemblies and hoses. The main component of the intake air system is the air cleaner assembly. The air cleaner assembly houses the air cleaner element that removes potential engine contaminants, particularly abrasive types. The Mass Air Flow (MAF) sensor is attached internally or externally to the air cleaner assembly and measures the quantity of air delivered to the engine combustion chamber. The MAF sensor can be serviced or replaced as an individual component. The intake air system also contains a sensor that measures the intake air temperature. (Refer to Electronic EC Hardware PCM Inputs for additional information on the MAF and IAT sensors). Air induction resonators can be separate components or part of the intake air housing (i.e., conical air cleaner). The function of a resonator is to reduce induction noise. The air induction components are connected to each other and to the throttle body assembly with hoses.

There are three basic types of intake air sub-systems:
- Intake Manifold Runner Control (IMRC) vacuum actuated system
- IMRC electric actuated system
- Intake Manifold Tuning (IMT) Valve

These subsystems are used to provide increased intake airflow to improve torque and performance The overall quantity of air metered to the engine is controlled by the throttle body.

Intake Manifold Runner Control (IMRC) - Electric Actuated:





INTAKE MANIFOLD RUNNER CONTROL VACUUM ACTUATED SYSTEM
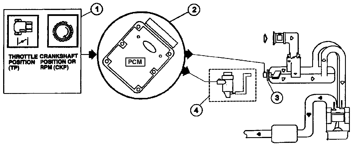
The Intake Manifold Runner Control (IMRC) Vacuum Actuated System consists of a vacuum control solenoid, a vacuum actuator and a housing assembly on each bank. The vacuum control solenoid allows manifold vacuum to pass through when in the energized state. The vacuum actuators control butterfly plate position on the housing in response to the vacuum signal supplied by the vacuum control solenoid. They also provide feedback to the PCM indicating butterfly plate position. The actuator diaphragms have attaching rods along with a clip to fasten the rods to the butterfly plate levers. Each IMRC housing is an aluminum casting with two intake air passages for each cylinder. One passage is always open and the other is opened and closed with a butterfly valve plate. The housing uses a return spring to hold the butterfly valve plates closed.

Below approximately 3000 rpm, the vacuum control solenoid will be energized. This will allow manifold vacuum through the vacuum control solenoid to the vacuum actuators to hold the butterfly valve plates closed. Without manifold vacuum, the butterfly plates will remain open due to the force of the vacuum actuators being attached to the runner shaft. Above approximately 3000 rpm, the vacuum control solenoid will not be energized. This will block manifold vacuum and vent the vacuum actuators allowing the runners into the open position.
1. The PCM uses the TP sensor and CKP signals to determine activation of the IMRC system. There must be a positive change in voltage from the TP sensor along with the increase in rpm to open the valve plates.
2. The PCM uses the information from the input signals to control the IMRC vacuum control solenoid.
3. The PCM deenergizes a vacuum control solenoid blocking manifold vacuum and providing a vent to atmosphere for the vacuum actuators which then force the butterfly plates open.
4. The IMRC housing contains butterfly plates to allow increased air flow.

Intake Manifold Runner Control (IMRC) - Electric Actuated:





INTAKE MANIFOLD RUNNER CONTROL ELECTRIC ACTUATED SYSTEM
The Intake Manifold Runner Control (IMRC) Electric Actuated system consists of a remote mounted motorized actuator with an attaching cable for each housing on each bank. Some applications will use one cable for both banks. The cable attaches to the housing butterfly plate levers. The Escort/Tracer 2.0L (2V) IMRC uses a motorized actuator mounted directly to a single housing without the use of a cable. Each IMRC housing is an aluminum casting with two intake air passages for each cylinder. One passage is always open and the other is opened and closed with a butterfly valve plate. The housing uses a return spring to hold the butterfly valve plates closed. The motorized actuator houses an internal switch or switches, depending on the application, to provide feedback to the PCM indicating cable and butterfly valve plate position.

Below approximately 3000 rpm, the motorized actuator will not be energized. This will allow the cable to fully extend and the butterfly valve plates to remain closed. Above approximately 3000 rpm, the motorized actuator will be energized. The attaching cable will pull the butterfly valve plates into the open position.
1. The PCM uses the TP sensor and CKP signals to determine activation of the IMRC system. There must be a positive change in voltage from the TP sensor along with the increase in rpm to open the valve plates.
2. The PCM uses the information from the input signals to control the IMRC motorized actuator based upon rpm and changes in throttle position.
3. The PCM energizes the motorizes actuator to pull the butterfly plates open with the cable(s).
4. The IMRC housing contain butterfly plates to allow increased air flow.





INTAKE MANIFOLD TUNING VALVE
The Intake Manifold Tuning (IMT) valve is either a motorized or vacuum actuated unit mounted directly to the intake manifold. The vacuum system actuator is controlled by a separate vacuum control solenoid and the motorized system is a single unit by itself. The IMT valve actuator for both systems controls a shutter device attached to the actuator shaft. The vehicle harness connector is attached directly to the actuator for the motorized system and the actuator connected to the vacuum control solenoid for the vacuum system. A vacuum line is attached between the vacuum actuator and the vacuum control solenoid. There is no monitor input to the PCM with either of these systems to indicate shutter position.

The IMT valve motorized unit will not be energized below approximately 3000 rpm. The shutter will be in the closed position not allowing airflow blend to occur in the intake manifold. Above approximately 3000 rpm, the motorized unit will be energized. The motorized unit will be commanded on by the PCM initially at a 100 percent duty cycle to move the shutter to the open position and then falling to approximately 50 percent to continue to hold the shutter open.

The IMT valve vacuum control solenoid will not be energized below approximately 3000 rpm. This will not allow manifold vacuum to the actuator and the shutter will remain closed. Above approximately 3000 rpm, the vacuum control solenoid will be energized. This will allow manifold vacuum to the vacuum actuator rotating the shutter to the open position.
1. The PCM uses the TP sensor and CKP signals to determine activation of the IMT valve system. There must be a positive change in voltage from the TP sensor along with the increase in rpm to open the shutter.
2. The PCM uses the information from the input signals to control the IMT valve.
3. When commanded on by the PCM, the motorized actuator shutter opens up the end of the vertical separating wall at high engine speeds to allow both sides of the manifold to blend together.
4. When commanded on by the PCM, the vacuum control solenoid controls the IMT valve actuator opening up the end of the vertical separating wall at high engine speeds to allow both sides of the manifold to blend together.


THROTTLE BODY SYSTEM OVERVIEW
The throttle body system meters air to the engine during idle, part throttle, and Wide Open Throttle (WOT) conditions. The throttle body system consists of an Idle Air Control (IAC) valve assembly, idle air orifice, single or dual bores with butterfly valve throttle plates and a Throttle Position (TP) sensor. One other source of idle air flow is the Positive Crankcase Ventilation (PCV) system. The combined idle air flow (from idle air orifice IAC flow and PCV flow) is measured by the MAF sensor on all applications.

During idle, the throttle body assembly provides a set amount of air flow to the engine through the idle air passage and PCV valve. The IAC valve assembly provides additional air when commanded by the Powertrain Control Module (PCM) to maintain the proper engine idle speed under varying conditions. The IAC valve assembly mounts directly to the throttle body assembly in most applications, but is remote-mounted to the intake manifold in some applications. Idle speed is controlled by the PCM and cannot be adjusted.

NOTE: The traditional idle air adjust procedure as well as throttle return screw are no longer used on OBD II applications.

Throttle rotation is controlled by a cam/cable linkage to slow the initial opening rate of the throttle plate. The TP sensor monitors throttle position and provides an electrical signal to the PCM. Some throttle body applications provide an air supply channel upstream of the throttle plate to provide fresh air to the PCV or IAC systems. Other throttle body applications provide individual vacuum taps downstream of the throttle plate for PCV return, Exhaust Gas Recirculation (EGR), Evaporative Emission (EVAP), and miscellaneous control signals.

THROTTLE BODY SYSTEM HARDWARE
The major components of the throttle body assembly include the TP sensor, IAC valve assembly, and throttle body housing assembly.

Throttle Position Sensor
The TP sensor monitors throttle position and provides an electrical signal to the PCM. It is monitored by the OBD II system for component integrity, system functionality and faults that can cause emissions levels to exceed standards set in government regulations.

Features of the Throttle Body Assembly include:
1. Idle Air Control (IAC) valve assembly mounted directly to the throttle body assembly (some vehicles).
2. A pre-set stop to locate the WOT position.
3. An air supply channel upstream of the throttle plate to provide fresh air to the PCV system (some vehicles only).
4. Individual vacuum taps for PCV, EGR, EVAP and miscellaneous control signals (some vehicles only).
5. PCV air return (if applicable).
6. A throttle body-mounted Throttle Position (TP) sensor.





7. A sealant/coating on the throttle bore and throttle plate makes the throttle body air flow tolerant to engine intake sludge accumulation. These throttle body assemblies MUST NOT BE CLEANED and have a white/black attention decal advising not to clean.








Idle Air Control Valve
The Idle Air Control (IAC) valve assembly controls engine idle speed and provides a dashpot function. The IAC valve assembly meters intake air around the throttle plate through a bypass within the IAC valve assembly and throttle body. The PCM determines the desired idle speed or bypass air and signals the IAC valve assembly through a specified duty cycle. The IAC valve responds by positioning the IAC valve to control the amount of bypassed air. The PCM monitors engine rpm and increases or decreases the IAC duty cycle in order to achieve the desired rpm.

NOTE: The IAC Valve Assembly is not adjustable and cannot be cleaned.

The IAC valve (part of throttle body assembly) has an internal diode on some applications. If the internal diode is measured in crossed terminal position with a digital multimeter, there will be an incorrect or negative reading. It is important that the mating component and harness connectors correctly oriented. Diagnostic procedures emphasize this importance.

The PCM uses the IAC valve assembly to control:
- No touch start
- Cold engine fast idle for rapid warm-up
- Idle (corrects for engine load)
- Stumble or stalling on deceleration (provides a dashpot function)
- Over-temperature idle boost.

Throttle Body Housing
The throttle body housing assembly is a single piece of aluminum casting with an air passage and a butterfly throttle plate with linkage mechanisms. When the throttle plate is in the idle (or closed) position, the throttle lever arm should be in contact with the throttle return stop. The throttle return stop prevents the throttle plate from contacting the bore and sticking closed. The setting also establishes the amount of air flow between the throttle plate and bore. To minimize the closed plate air flow, a special coating is applied to the throttle plate and bore to help seal this area. This sealant/coating also makes the throttle body resistant to engine intake sludge accumulation.