Operation CHARM: Car repair manuals for everyone.
Manuals through 2025 now available!

Our trusted friends have launched a new website named LEMON, which has newer manuals. It also contains all the CHARM manuals.

LEMON is the spiritual successor to CHARM, I recommend you try it!

Link: lemon-manuals.la or lemon-manuals.org.ua

(Some people have issue connecting. LEMON is investigating. For now, use Firefox or change your DNS server)

Or, hide this message: temporarily or permanently

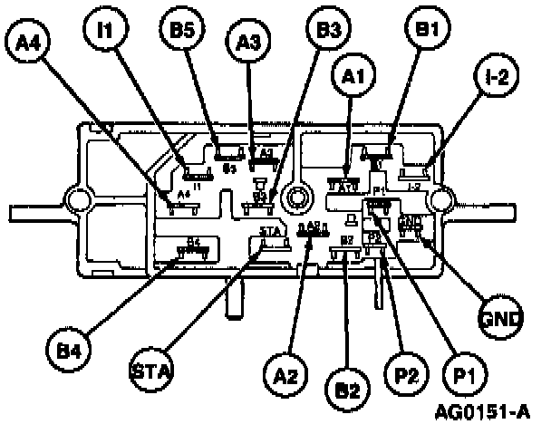
Ignition Switch Continuity Test

Part 1 Of 2:




Part 2 Of 2:





Disconnect connector C299 from the ignition switch. Test the ignition switch continuity as follows. Connect a self-powered test lamp or ohmmeter between the blade terminals indicated on the chart in the illustration. No continuity between any blade and the ground terminal should exist in any ignition switch position except the proof and ground pins (P-1, P-2 and GND) in the START position only.
For an "engine will not crank" condition, determine if the condition exists with the gearshift lever in both the PARK and NEUTRAL positions before performing the ignition switch continuity test. If the "no-crank" condition occurs in one shift lever position but not the other, a more probable cause is the Transmission Range (TR) sensor located on the transaxle.