Operation CHARM: Car repair manuals for everyone.
Manuals through 2025 now available!

Our trusted friends have launched a new website named LEMON, which has newer manuals. It also contains all the CHARM manuals.

LEMON is the spiritual successor to CHARM, I recommend you try it!

Link: lemon-manuals.la or lemon-manuals.org.ua

(Some people have issue connecting. LEMON is investigating. For now, use Firefox or change your DNS server)

Or, hide this message: temporarily or permanently

Catalytic Converter: Service and Repair

Removal

1. Raise and support the vehicle.





2. Disconnect the oxygen sensor connectors.





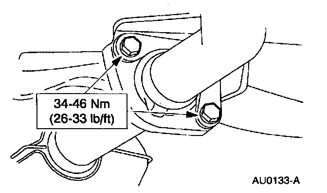
3. Remove the two nuts.





4. Remove the Three Way Catalytic Converter (TWC).
^ Remove the nuts, bolts, damper and gasket.
^ Remove the TWC.

Installation





1. Position the three way catalytic converters and install the two nuts.





2. Install a new gasket, bolts, nuts and damper.
3. Connect the heated oxygen sensor connectors.
4. Lower the vehicle.