Operation CHARM: Car repair manuals for everyone.
Manuals through 2025 now available!

Our trusted friends have launched a new website named LEMON, which has newer manuals. It also contains all the CHARM manuals.

LEMON is the spiritual successor to CHARM, I recommend you try it!

Link: lemon-manuals.la or lemon-manuals.org.ua

(Some people have issue connecting. LEMON is investigating. For now, use Firefox or change your DNS server)

Or, hide this message: temporarily or permanently

Torque Specifications and Procedures



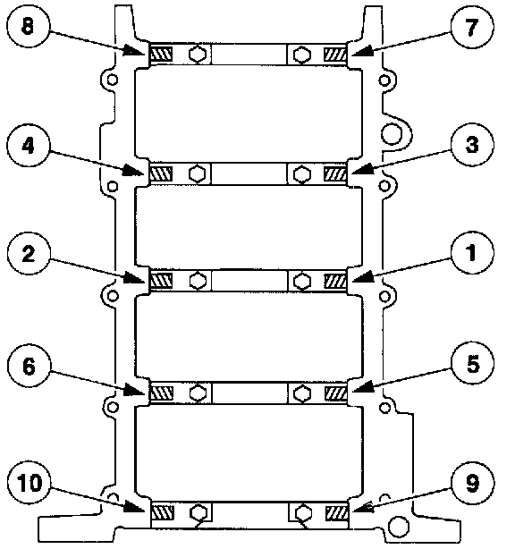
Torque Specifications - Crankshaft Main Bearing Bolts






Install the vertical main bearing cap fasteners and tighten the bolts in two stages, in the sequence shown.
- Stage 1: Tighten to 40 Nm (30 ft. lbs.).
- Stage 2: Tighten an additional 90 degrees.






Tighten the jack screws against the cylinder block in two stages, in the sequence shown.
- Stage 1: Tighten to 5 Nm (44 in. lbs.)
- Stage 2: Tighten to 10 Nm (89 in. lbs.)






Install the side bolts and tighten them in the sequence shown.