Operation CHARM: Car repair manuals for everyone.
Manuals through 2025 now available!

Our trusted friends have launched a new website named LEMON, which has newer manuals. It also contains all the CHARM manuals.

LEMON is the spiritual successor to CHARM, I recommend you try it!

Link: lemon-manuals.la or lemon-manuals.org.ua

(Some people have issue connecting. LEMON is investigating. For now, use Firefox or change your DNS server)

Or, hide this message: temporarily or permanently

Synchronizer





NOTE: Ford does not provide a TDC (Top Dead Center) mark or determination procedure for this engine in this vehicle.
ALLDATA users have reported success using aftermarket tools to determine TDC on this engine.

Alldata Editors Note: Ford provides NO procedure to replace the Camshaft Position Sensor without the special tool shown in this article.

Removal

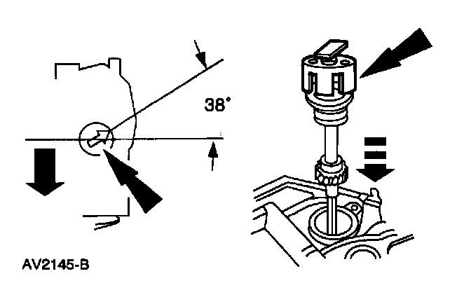
Syncro Positioning Tool:






Caution: Do not turn the crankshaft or the camshaft during the removal and installtion procedure or the fuel system timing will be out of time with the engine and possibly cause engine damage.

1. Rotate the crankshaft until the No. 1 cylinder is top dead center (TDC) of the compression stroke.

2. Remove the camshaft position (CMP) sensor.






3. Remove the camshaft synchronizer bolt.






4. Note: The oil pump driveshaft might come out with the camshaft synchronizer. If so, retrieve the oil pump drive shaft before proceeding and remove the camshaft synchronizer.

Installation

1. Caution: A special tool must be used during the installation of the replacement synchronizer assembly. Failure to follow this procedure will result in the fuel system being out of time with the engine, possibly causing engine damage.

Caution: It is very important to coat the gear on the camshaft synchronizer with Super Premium SAE 5W-30 Motor Oil XO-5W30-QSP or equivalent meeting Ford specification WSS-M2C153-G or equivalent, prior to installtion. Failure to do so could result in gear failure.

Install the special tool on the camshaft synchronizer by rotating the tool until it engages the notch in the camshaft synchronizer housing and the armature.






2. Note: During installation, the arrow on the special tool will rotate clockwise until oil pump intermediate shaft and camshaft engages.

Install the camshaft synchronizer housing assembly so the arrow on the special tool is 38 degrees from the centerline of the engine.







3. Install the camshaft synchronizer bolt.