Operation CHARM: Car repair manuals for everyone.
Manuals through 2025 now available!

Our trusted friends have launched a new website named LEMON, which has newer manuals. It also contains all the CHARM manuals.

LEMON is the spiritual successor to CHARM, I recommend you try it!

Link: lemon-manuals.la or lemon-manuals.org.ua

(Some people have issue connecting. LEMON is investigating. For now, use Firefox or change your DNS server)

Or, hide this message: temporarily or permanently

Front Electronic Module

REMOVAL
1. Disconnect the battery ground cable.

CAUTION:
^ Electronic modules are sensitive to electrical charges. If exposed to these charges, damages may result.
^ Prior to removal of module, it is necessary to upload module configuration information to New Generation STAR (NGS) Tester. This information needs to be downloaded into the new module once installed. Refer to Information Bus.







2. Remove the instrument panel lower steering column opening cover.
1. Remove the bolts.
2. Remove the cover.







3. Remove the instrument panel opening cover reinforcement.
1. Remove the bolts.
2. Remove the reinforcement.







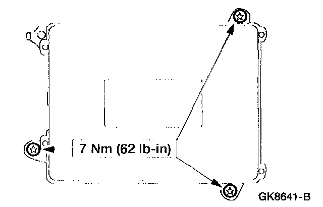
4. Remove the Front Electronic Module (FEM).
1. Disconnect the five electrical connectors.
2. Remove the three bolts.
3. Remove the FEM.

INSTALLATION

















1. To install, reverse the removal procedure.

CAUTION: Once the new module is installed, it is necessary to download the module configuration information from NGS Tester into the new module. Refer to Information Bus.

NOTE: When the battery is disconnected and reconnected, some abnormal drive symptoms may occur while the vehicle relearns its adaptive strategy. The vehicle may need to be driven 10 miles (16 km) or more to learn the strategy.