Rear Electronic Module
REMOVAL1. Disconnect the battery ground cable.
CAUTION:
^ Electronic modules are sensitive to electrical charges. If exposed to these charges, damages may result.
^ Prior to removal of module, it is necessary to upload module configuration information to New Generation STAR (NGS) Tester. This information needs to be downloaded into the new module once installed. Refer to Information bus.
2. Remove the RH quarter trim panel.
3. Remove the service jack mounting bracket.
1. Remove the bolts.
2. Remove the bracket.
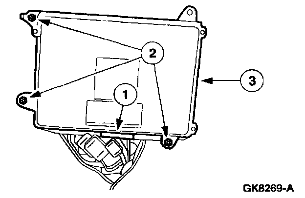
4. Remove the Rear Electronic Module (REM).
1. Disconnect the electrical connectors.
2. Remove the nuts.
3. Remove the REM.
INSTALLATION
1. To install, reverse the removal procedure.
CAUTION: Once the new module is installed, it is necessary to download the module configuration information from tile NGS Tester into the new module. refer to Information Bus.
NOTE: When the battery is disconnected and reconnected, some abnormal drive symptoms may occur while the vehicle relearns its adaptive strategy. The vehicle may need to be driven 10 miles (16 km) or more to relearn the strategy.