Operation CHARM: Car repair manuals for everyone.
Manuals through 2025 now available!

Our trusted friends have launched a new website named LEMON, which has newer manuals. It also contains all the CHARM manuals.

LEMON is the spiritual successor to CHARM, I recommend you try it!

Link: lemon-manuals.la or lemon-manuals.org.ua

(Some people have issue connecting. LEMON is investigating. For now, use Firefox or change your DNS server)

Or, hide this message: temporarily or permanently

Compressor HVAC: Service and Repair

REMOVAL

CAUTION: To prevent refrigerant contamination, if you are installing a new A/C compressor because the A/C compressor has failed internally, you must carry out the following procedures:
- If Rotunda A/C Flusher 014-00991 or equivalent is available, carry out the Flushing general procedure. Air Conditioning System Flushing
- If Rotunda A/C Flusher 014-00991 or equivalent is not available, carry out the Refrigerant System Filtering after A/C Component Replacement general procedure. Refrigerant System Filtering After A/C Component Replacement
- Install a new A/C evaporator core orifice. For additional information, refer to Evaporator Core Orifice.

NOTE: Installation of a new suction accumulator/drier is not required when repairing the air conditioning system except when there is physical evidence of system contamination from a failed A/C compressor or damage to the suction accumulator/drier.

1. Perform the Refrigerant Discharging and Recovery Procedure.
2. Turn the air suspension off.
3. Raise the vehicle on a hoist. For additional information, refer to Maintenance/Service and Repair.
4. Remove the drive belt from the A/C clutch pulley. For additional information, refer to Drive Belts, Mounts, Brackets and Accessories.







5. Disconnect the wire harness connector from the crankshaft position sensor.







6. Disconnect the connector.







7. Disengage the wire harness retainer from the bracket.







8. Remove the bolts and lower the A/C compressor.







9. Remove the A/C compressor.
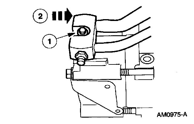
1 Loosen the bolt.
2 Remove the A/C compressor.







10. Remove the bolt and remove the bracket from the A/C compressor.

INSTALLATION

















1. To install, reverse the removal procedure.
- Service the new A/C compressor with the correct amount of PAG compressor oil YN-12-C F7AZ-19589-DA or equivalent meeting Ford specification WSH-M1C231-B. See Refrigerant Oil Addition.
- Lubricate the O-ring seal with PAG compressor oil YN-12-C F7AZ-19589-DA or equivalent meeting Ford specification WSH-M1C231-B.
- Apply Pipe Sealant with Teflon(R) D8AZ-19554-A or equivalent meeting Ford specification WSK-M2G350-A2 to the threads of the A/C manifold bolt.