Operation CHARM: Car repair manuals for everyone.
Manuals through 2025 now available!

Our trusted friends have launched a new website named LEMON, which has newer manuals. It also contains all the CHARM manuals.

LEMON is the spiritual successor to CHARM, I recommend you try it!

Link: lemon-manuals.la or lemon-manuals.org.ua

(Some people have issue connecting. LEMON is investigating. For now, use Firefox or change your DNS server)

Or, hide this message: temporarily or permanently

Toe Adjustment





1. Start the engine and center the steering wheel.
2. Turn the engine off, and hold the steering wheel in the "straight forward" position by attaching a rigid link from the steering wheel to the brake pedal.
3. Check the toe settings; follow the manufacturer's instructions.





4. Loosen the nuts.
- Clean and lubricate the steering linkage and tie rod end threads.





5. Rotate the adjusting sleeves to obtain the correct toe setting.





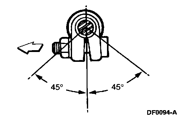
6. Tighten the nuts. Position the RH adjusting sleeve clamp opening downward within 45 degrees of vertical.





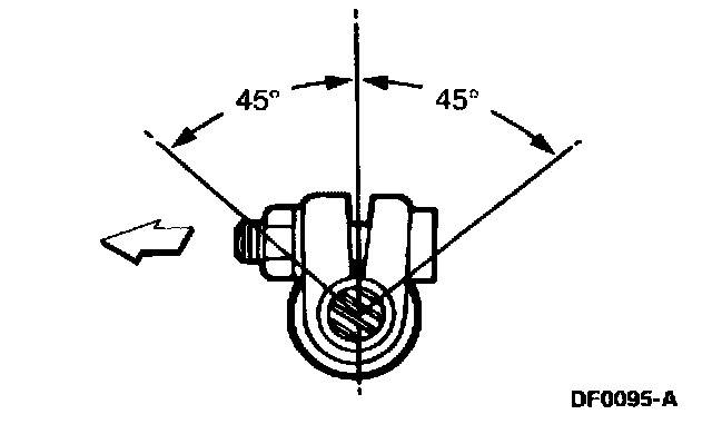
7. Tighten the nuts. Position the LH adjusting sleeve clamp opening upward within 45 degrees of vertical.
8. Recheck the toe settings; follow the manufacturer's instructions.