Operation CHARM: Car repair manuals for everyone.
Manuals through 2025 now available!

Our trusted friends have launched a new website named LEMON, which has newer manuals. It also contains all the CHARM manuals.

LEMON is the spiritual successor to CHARM, I recommend you try it!

Link: lemon-manuals.la or lemon-manuals.org.ua

(Some people have issue connecting. LEMON is investigating. For now, use Firefox or change your DNS server)

Or, hide this message: temporarily or permanently

Front Fender: Service and Repair

FENDER - FRONT

Removal







1. If equipped, remove the stone guard.
1 Remove the screw.
2 Remove the pushpins.
3 Remove the lower clip.
4 Remove the stone guard.







2. Remove the front fender splash shield (16103).
1 Remove the pushpins.
2 Remove the screws.
3 Remove the front fender splash shield.

3. Remove the radiator grille opening panel reinforcement (814284).







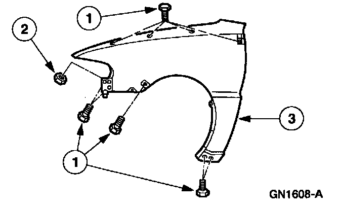
4. Remove the front fender (16005).
1 Remove the bolts.
2 Remove the nut.
3 Remove the front fender.

Installation

















1. To install. reverse the removal procedure.