Operation CHARM: Car repair manuals for everyone.
Manuals through 2025 now available!

Our trusted friends have launched a new website named LEMON, which has newer manuals. It also contains all the CHARM manuals.

LEMON is the spiritual successor to CHARM, I recommend you try it!

Link: lemon-manuals.la or lemon-manuals.org.ua

(Some people have issue connecting. LEMON is investigating. For now, use Firefox or change your DNS server)

Or, hide this message: temporarily or permanently

Back Window Glass: Service and Repair






SPECIAL TOOL(S)

REMOVAL

WARNING: TO PREVENT GLASS SPLINTERS FROM ENTERING EYES OR CUTTING HANDS, WEAR SAFETY GLASSES AND HEAVY GLOVES WHEN CUTTING GLASS FROM THE VEHICLE.







1. Disconnect the heated back window electrical connector.
2. Lower the rear portion of the headliner.
3. Remove the package trim panel.
4. Using a soft brush or vacuum, remove any foreign material or dirt from the pinch weld.







5. Using the special tool, start at the top center of the back window glass, cut the sealant away from the glass and work down the sides.

CAUTION: Care must be taken to avoid scratching the pinch weld.

NOTE: Lubricate the existing urethane sealant with water to aid the special tool when cutting.







6. Using the special tool, distance the back window glass from the body.







7. Using the special tool, cut the remaining urethane sealant and remove the back window glass.
8. Using a soft brush or vacuum, remove any foreign material or dirt from the pinch weld.

INSTALLATION

CAUTION: After installing the urethane installed glass, the vehicle should not be driven until the urethane has cured. The curing time at 21°C (70°F) and 50% relative humidity is 24 hours (decreasing at higher temperatures and higher humidities). Refer to the detailed instructions provided by the manufacturer in the kit. Inadequate curing of the urethane may adversely affect the strength of the urethane adhesive bond.







1. Dry set the back window glass.
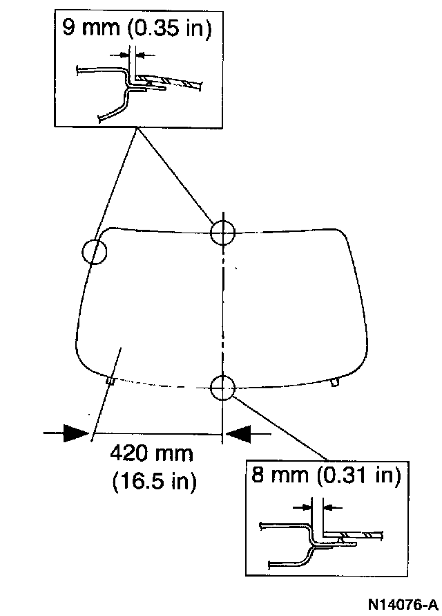
^ Position the back window glass in the pinch weld.
^ Align the back window glass from the bottom center point of the glass out to the two spacers at the bottom of the pinch weld.
^ Align the gap of the back window glass at the top and sides of the back window glass edge to the pinch weld edge.
^ Mark the back window glass and the body when aligned as specified.
^ Remove the back window glass from the pinch weld and clean the inside of the back window glass with an alcohol-free cleaner and wipe the edge of the glass with a clean cloth.

NOTE: Keep glass and body surfaces free of dirt, water, and oil. Do not touch coated surfaces with your hands







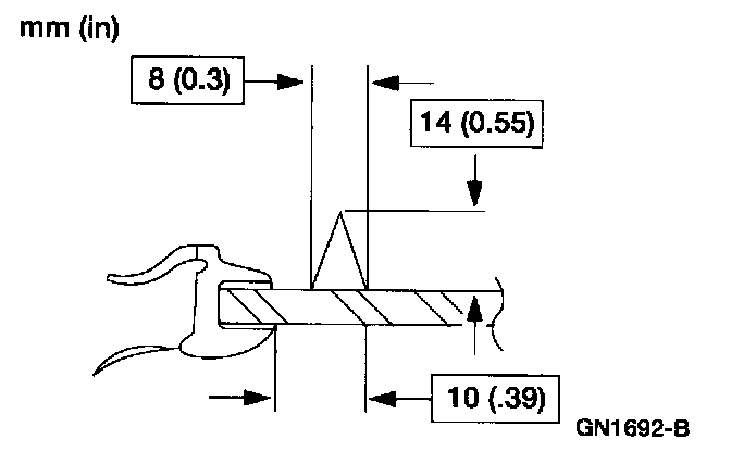
2. Trim the remaining urethane sealant on the pinch weld to the specified thickness.

CAUTION: Do not scratch the pinch weld.

3. Using the wool applicator, apply the Urethane Metal Primer Essex U-413 meeting Ford specification WSB-M2G234-C to any exposed metal on the pinch weld. Allow six to ten minutes to dry.
4. If installing the original back window glass, remove any excess urethane sealant.







5. Install the (A) back window glass moulding on the (B) back window glass perimeter.
6. Apply Urethane Glass Prep Essex U-401 meeting Ford specification WSB-M2G314-B as shown, and repeat the application.
^ Apply Urethane Glass Prep to the back window glass directly inside the back window glass moulding on the blackout ceramic coating.
^ Immediately wipe off Urethane Glass Prep.
^ Repeat Urethane Glass Prep application.

NOTE: Immediately wipe off the urethane glass prep after each application because it flash dries.

7. Apply Urethane Glass Primer Essex U-402 meeting Ford specification WSB-M5B280-C to the same area in the previous step.
^ Allow five minutes drying time.







8. Cut the nozzle of the urethane sealant canister to specification.







9. Apply a bead of Urethane Sealant Essex 400-HV or Essex U-216, which meets Ford Specification WSB-M20316-B around the pinch weld on top of the remaining bead of urethane.
^ Make sure that the bead of Urethane Sealant is smooth and even. If necessary, reshape the bead with a suitable tool, using care not to trap air in the bead.

CAUTION: If the vehicle is to be driven within 24 hours of urethane sealant application, Urethane Sealant Essex U-216 meeting Ford specification WSB-M2G316-B must be used due to its one hour cure time.







10. Using the alignment marks, install the back window glass.

CAUTION: Open the windows to prevent the back window glass from being pushed out by air pressure if a door is closed.


11. After the glass is set, cheek for water leaks and add urethane sealant where needed.







12. Connect the heated back window electrical connector.
13. Install the rear portion of the headliner.
14. Install the package tray.