Operation CHARM: Car repair manuals for everyone.
Manuals through 2025 now available!

Our trusted friends have launched a new website named LEMON, which has newer manuals. It also contains all the CHARM manuals.

LEMON is the spiritual successor to CHARM, I recommend you try it!

Link: lemon-manuals.la or lemon-manuals.org.ua

(Some people have issue connecting. LEMON is investigating. For now, use Firefox or change your DNS server)

Or, hide this message: temporarily or permanently

Windshield Glass






SPECIAL TOOL(S)

REMOVAL

1. Remove the cowl grille.

WARNING: TO PREVENT GLASS SPLINTER FROM ENTERING EYES OR CUTTING HANDS, WEAR SAFETY GLASSES AND HEAVY GLOVES WHEN CUTTING GLASS FROM THE VEHICLE.

2. Remove the interior rear view mirror. For additional information, refer to Mirrors.
3. Lower the front portion of the headliner.







4. Remove the windshield outside moulding from the windshield glass.
^ Twist and pull to remove.

5. Using a soft brush or vacuum, remove any dirt and foreign material from the pinch weld.







6. Using the special tool, start at the top center of the windshield and cut the sealant away from the glass working down the sides.

CAUTION: Do not scratch the pinch weld area.

NOTE: Lubricate the existing urethane sealant where it meets the glass with water to aid the special tool when cutting the urethane sealant.







7. Using the special tool, distance the windshield glass from the body.







8. Using the special tool, cut the remaining urethane sealant and remove the windshield.
9. Using a soft brush or vacuum, remove any dirt and foreign material from the pinch weld.

INSTALLATION

CAUTION: After installing the urethane-installed glass, the vehicle should not be driven until the urethane has cured. The curing time at 21 °C (70°F) and 50% relative humidity is 24 hours (decreasing at higher temperatures and higher humidities). Refer to the detailed instructions provided by the manufacturer in the kit Inadequate curing of the urethane may adversely affect the strength of the urethane adhesive bond.







1. Dry set the windshield glass.
^ Position the windshield glass in the pinch weld.
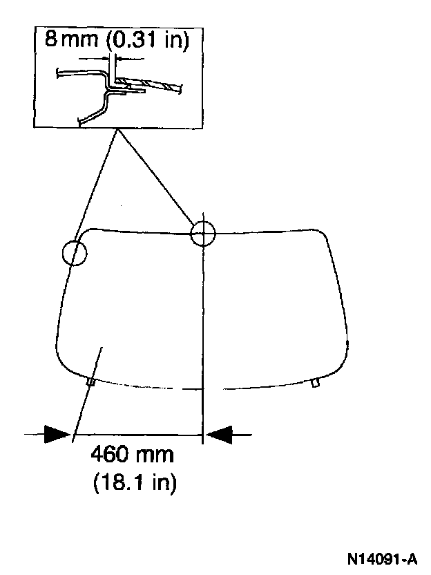
^ Align the windshield glass from the bottom center point of the glass out to the two spacers at the bottom of the pinch weld.
^ Align the gap of the windshield glass at the top and sides of the back window glass edge to pinch the weld edge.
^ Mark the windshield glass and the body when aligned as specified.
^ Remove the windshield glass from the pinch weld and clean the back of the window glass inside perimeter with an alcohol-free cleaner and wipe with a clean cloth.

NOTE: Keep glass and body surfaces free of dirt, water, and oil. Do not touch coated surfaces with your hands.







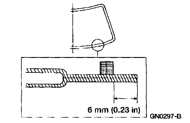
2. Trim the remaining urethane sealant on the pinch weld to the specified thickness.

CAUTION: Do not scratch the pinch weld area.

3. Using a wool applicator, apply the Urethane Metal Primer Essex U-413 meeting Ford specification WSB-M2G234-C to any exposed metal on the pinch weld. Allow six to ten minutes to dry.







4. Install Norton Foam Seal ants 565 Black Foam Tape or equivalent meeting Ford specification ESB-M3G77-A.
5. If installing the original windshield glass, remove any excess Urethane Sealant.
6. Apply Urethane Glass Prep Essex U-401 meeting Ford specification WSB-M2G314-B and repeat the application.
^ Apply Urethane Glass Prep Essex U-401 meeting Ford specification WSB-M2G314-B to the windshield glass directly inside the blackout ceramic coating.
^ Immediately wipe off the Urethane Glass Prep.
^ Repeat the Urethane Glass Prep application.

NOTE: Immediately wipe off the Urethane Glass Prep after application because it flash dries.

7. Use the supplied wool applicator to apply Urethane Glass Primer Essex U-402 meeting Ford specification WSB-M5B280-C to the same area in the previous step.
^ Allow five minutes drying time.







8. Cut the nozzle of the Urethane Sealant canister to specification.







9. Install the windshield outside moulding around the top and sides of the windshield glass then tape to hold in place.
1 Align the marks on the windshield outside moulding.
2 Install the top portion of the windshield outside moulding.
3 Install the corners of the windshield outside moulding.
4 Install the sides of the windshield outside moulding from the top down.







10. Apply a bead of Urethane Sealant Essex 400-HV or Essex U-216, which meets Ford specification WSB-M2G316-B to the pinch weld on top of the existing bead of urethane.

CAUTION: If vehicle is to be driven within 24 hours of urethane application, Urethane Sealant Essex U-216 meeting the Ford specification WSB-M2G316-B must be used due to its one hour cure time.







11. Use the bottom spacers and alignment marks to install the windshield glass.

CAUTION: Open the windows slightly to prevent the windshield glass from being pushed out by air pressure when 3 door is closed.

12. After the urethane sealant has cured, check for water leaks and add Urethane Sealant Essex U-400-HV or Essex U216 where needed.
13. Install the front portion of the headliner.
14. Install the interior rear view mirror. For additional information, refer to Mirrors.
15. Install the cowl grille.