Operation CHARM: Car repair manuals for everyone.
Manuals through 2025 now available!

Our trusted friends have launched a new website named LEMON, which has newer manuals. It also contains all the CHARM manuals.

LEMON is the spiritual successor to CHARM, I recommend you try it!

Link: lemon-manuals.la or lemon-manuals.org.ua

(Some people have issue connecting. LEMON is investigating. For now, use Firefox or change your DNS server)

Or, hide this message: temporarily or permanently

Front Bench

DISASSEMBLY
1. Remove the seat. For additional information, refer to Seat-Front Bench.
2. Remove the seat back. For additional information, refer to Seat Backrest-Front Bench.







3. Remove the two seat risers.
1 Remove the four nuts.
2 Remove the two front seat floor supports.







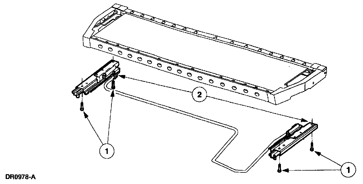
4. Remove the two front seat tracks.
1 Remove the four bolts.
2 Remove the front seat tracks.







5. Unfasten the eight seat cushion cover J-strips and remove the seat cushion cover.
6. Remove the seat cushion from the seat frame.

ASSEMBLY







1. Follow the disassembly procedure in reverse order.







2. Check the restraint system for correct operation.