Operation CHARM: Car repair manuals for everyone.
Manuals through 2025 now available!

Our trusted friends have launched a new website named LEMON, which has newer manuals. It also contains all the CHARM manuals.

LEMON is the spiritual successor to CHARM, I recommend you try it!

Link: lemon-manuals.la or lemon-manuals.org.ua

(Some people have issue connecting. LEMON is investigating. For now, use Firefox or change your DNS server)

Or, hide this message: temporarily or permanently

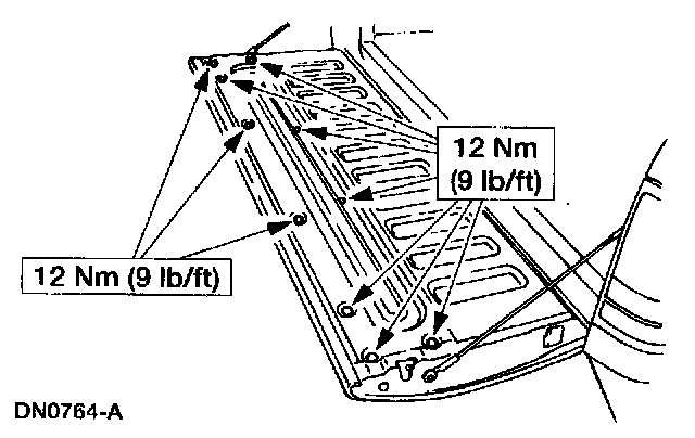
Tailgate Interior Trim Panel: Service and Repair

TRIM PANEL - TAILGATE, UPPER

Removal







1. Remove the screws and remove the tailgate access panel.







2. NOTE: Use extreme care while removing the tailgate trim panel. The component is easily damaged during removal.

Remove the tailgate trim panel.
1 Remove the scrivets.
2 Pull the tailgate trim panel away from the tailgate.

Installation







1. Follow the removal procedure in reverse order.