Operation CHARM: Car repair manuals for everyone.
Manuals through 2025 now available!

Our trusted friends have launched a new website named LEMON, which has newer manuals. It also contains all the CHARM manuals.

LEMON is the spiritual successor to CHARM, I recommend you try it!

Link: lemon-manuals.la or lemon-manuals.org.ua

(Some people have issue connecting. LEMON is investigating. For now, use Firefox or change your DNS server)

Or, hide this message: temporarily or permanently

Part 1





Special Tools 1 Of 2:





Special Tools 2 Of 2:





Materials:






Assembly






1. Record the main bearing code found on the front of the engine block.






2. Record the main bearing code found on the back of the crankshaft.

Bearing Select Fit Chart, Standard Bearing:






3. Using the data recorded earlier and the bearing select fit chart, standard bearing chart determine the required bearing grade for each main bearing.
- Read the first letter of the engine block main bearing code and the first letter of the crankshaft main bearing code.
- Read down the column below the engine block main bearing code letter, and across the row next to the crankshaft main bearing code letter, until the two intersect. This is the required bearing grade for the number one crankshaft main bearing.
- As an example, if the engine block code letter is "F" and the crankshaft code letter is "D" the correct bearing grade for this main bearing is "2".
- Repeat this process for the remaining four main bearings.

Bearing Select Fit Chart, Oversize Bearings:






4. If oversize bearings are being used, use the procedure in the previous step and the bearing select fit chart, oversize bearing chart to determine the required grade for each main bearing.

Note: Before assembling the cylinder block (6010), all sealing surfaces must be free of ships, dirt, paint, and foreign material. Also, make sure the coolant and oil passages are clear.

5. Install the crankshaft upper main bearings into the cylinder block and lubricate them with clean engine oil.

Note: Do not install the upper thrust bearing until the crankshaft is installed.






6. Install the crankshaft onto the upper main bearings.

Note: The oil groove on the thrust washer must face toward the front of the engine (against the crankshaft thrust surface).






7. Push the crankshaft rearward and install the rear crankshaft upper thrust washer at the back of the No. 5 main boss.

Note: The oil groove on the thrust washer must face toward the front of the engine (against the crankshaft thrust surface).






8. Push the crankshaft forward and install the front crankshaft upper thrust washer at the front of the No. 5 main boss.

Note: To aid in assembly, apply petroleum jelly to the back of the crankshaft thrust washer.

Note: The oil groove on the thrust washer must face toward the rear of the engine (crankshaft surface).






9. Install the lower crankshaft thrust washer to the back side of the No. 5 main bearing cap, with oil grooved facing the crankshaft surface.






10. Install the crankshaft lower main bearings into the main bearing caps. Locate the main bearing cap on the cylinder block and tap into place using a plastic or dead-blow hammer.






11. Install the dowel pins so the flat sides faces the crankshaft.






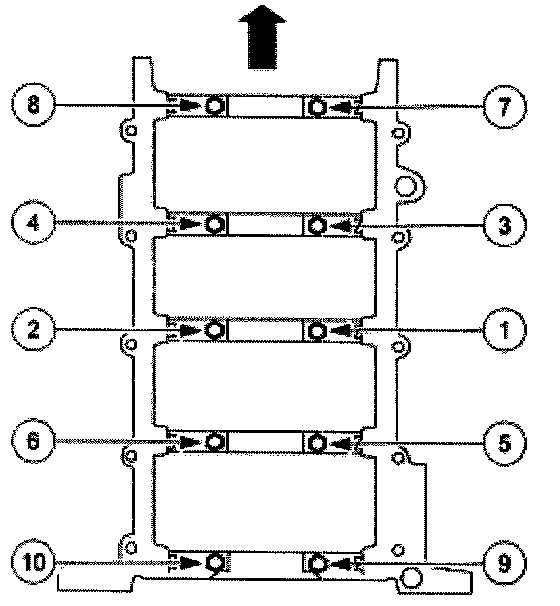
12. Install the vertical main bearing cap fasteners and tighten in the sequence shown in two stages.
- Stage 1: Tighten to 40 Nm. ( 30 lb - ft ).
- Stage 2: Tighten an additional 90 °.






13. Install the side bolts and tighten them in the sequence shown in two stages.
- Stage 1: Tighten to 30 Nm.( 22 lb - ft ).
- Stage 2: Tighten an additional 90 °

Caution: Do not scratch the cylinder walls or crankshaft journals with the connecting rod.

Note: The next three steps are for all eight connecting rods, rod caps, and pistons. Only one connecting rod, rod cap and piston is shown.

Note: Make sure the identification marks on the piston and connecting rod face the front of the engine.






14. Use the special tools to install the piston and connecting rod with upper connecting rod bearing in place.

Caution: Do not scratch the cylinder walls or crankshaft journals with the connecting rod.






15. Once the connecting rod is seated on the crankshaft journal, remove the special tool.

Caution: The rod cap installation must keep the same orientation as marked during disassembly.

Note: The connecting rid caps are of the "cracked" design and must mate with the connecting rod ends. Excessive bearing clearance will result if not mated correctly.

16. Position the lower bearing and connecting rod, and install the new bolts loosely.

Note: Main bearing caps are removed for clarity.

Note: Rotate the crankshaft after each connecting rod is installed and tightened to check for assembly binding.






17. Tighten the bolts in two stages, using the sequence show in two stages.
- Stage 1: Tighten to 43 Nm. ( 32 lb -ft ).
- Stage 2: Tighten an additional 105 °






18. Position the oil pump and install the bolts loosely. Tighten the bolts in sequence shown.

Caution: The gasket sealing surfaces on the cylinder head and cylinder block must be clean.

Caution: The use of sealing aids (aviation cement, copper spray and glue) is not permitted. The gasket must be installed dry.

Caution: The new gasket has a film coating which is crucial to the gasket's ability to seal correctly. Do not scratch the gasket.

Note: RH head gasket shown, LH head gasket similar.






19. Install the head gasket over the dowel pins.

Caution: Cylinder head machining or milling is not authorized by Ford Motor Company. Cylinder head flatness must be within 0.0254mm (0.002 in) across a 38.1 mm. (1.4 in) square area.

Caution: The gasket sealing surfaces on the cylinder head and cylinder block must be clean.

Caution: The use of sealing aids (aviation cement, copper spray and glue) is not permitted. The gasket must be installed dry.

Caution: The new gasket has a film coating which is crucial to the gasket's ability to seal correctly. Do not scratch the gasket.

Note: New cylinder head bolts must be lightly oiled with a rag, and allowed to drain for a few minutes prior to installation.

Note: RH head gasket shown, LH head gasket similar.






20. Install the cylinder head on the dowels and the head gasket. Loosely install the new bolts.

Note: Make sure to tighten the bolts in sequence in three stages.






21. Tighten the LH bolts in the sequence shown.
- Stage 1: Tighten to 40 Nm. ( 30 lb - ft ).
- Stage 2: Tighten an additional 90 °
- Stage 3: Tighten an additional 90 °

Note: Make sure to tighten the bolts in the following three stages.






22. Tighten the RH bolts in the sequence shown.
- Stage 1: Tighten to 40 Nm. ( 30 lb - ft ).
- Stage 2: Tighten an additional 90 °
- Stage 3: Tighten an additional 90 °






23. Remove the special tools on both ends of the cylinder head.

Note: Lubricate the hydraulic lash adjusters with clean engine oil.






24. Install the hydraulic lash adjusters in their original locations.






25. Install the RH exhaust manifold gaskets and the exhaust manifold. Tighten the nuts in the sequence shown.

Note: Lubricate the O-ring seal with clean engine oil.






26. Install the oil level indicator tube.
- Install a new Of-ring seal on the oil level indicator tube.
- Install the oil level indicator tube.
- Install the bolt.






27. Install the LH exhaust manifold and the exhaust manifold gaskets. Tighten the nuts in the sequence shown.

Caution: The timing chain procedures must be followed exactly or damage to valves and pistons will result.

Caution: Do not compress the ratchet assembly. This will damage the ratchet assembly.






28. Compress the tensioner plunder, using an edge of a vise.






29. Using a small screwdriver or pick, push back and hold the ratchet mechanism.






30. While holding the ratchet mechanism, push the ratchet arm back into the tensioner housing.






31. Install a paper clip into the hole in the tensioner housing to hold the ratchet assembly and plunger in during installation.
32. Remove the tensioner from the vise.






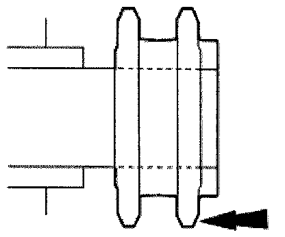
33. If the copper links are not visible, mark two links on one end and one link on the other end, and use as timing marks.






34. Install the timing chain guides.






35. Pre-position the camshafts.
1. Rotate the LH camshaft with the camshaft positioning tool until the timing marks is approximately at 12 o'clock.
2. Rotate the RH camshaft with the camshaft positioning tool until the timing marks is approximately at 11o'clcok.

36. Caution: Rotate the crankshaft counterclockwise only. Do not rotate past position shown or severe piston and valve damage can occur.

Note: The No.1 piston is at top dead center (TDC) when the stud on the engine block fits into the slot in the handle of the special tool.






Position the crankshaft so the No. 1 cylinder is at TDC with the special tool.

37. Remove the crankshaft holding tool.






38. Install the crankshaft sprocket, making sure the flange faces forward.






39. Position the lower end of the LH (inner) timing chain in the crankshaft sprocket, align the timing mark on the outer flange of the crankshaft sprocket with the single copper (marked) link on the chain.

Note: Make sure the upper half of the timing chain is below the tensioner arm dowel.

Note: If necessary, use the camshaft alignment set to adjust the camshaft sprocket slightly to obtain timing mark alignment.






40. Position the timing chain on the camshaft sprocket with the camshaft sprocket timing mark positioned between the two copper (marked) chain links.

Note: The LH timing chain tensioner arm has a bump near the dowel hole for identification.






41. Position the LH timing chain tensioner arm on the dowel pin and install the LH timing chain tensioner.






42. Remove the retaining clip from the LH timing chain tensioner.






43. Position the lower end of the RH (outer) timing chain on the crankshaft sprocket, aligning the timing mark on the sprocket with the single copper (marked) chain link.

Note: The lower half of the timing chain must be positioned above the tensioner arm dowel.

Note: If necessary, use the camshaft alignment set to adjust the camshaft sprocket slightly to obtain timing mark alignment.






44. Position the RH timing chain on the camshaft sprocket. Make sure the camshaft sprocket timing mark is positioned between the two copper (marked) chain links.






45. Position the RH timing chain tensioner arm on the dowel pin and install the RH timing chain tensioner.






46. Remove the retaining clip from the RH timing chain tensioner.






47. As a post check, verify the correct the alignment of all timing marks.






48. Install the special tool between the valve spring coils to prevent valve stem damage.

Note: Lubricate the camshaft roller followers using clean engine oil.

Note: Position the cam lobe away from the camshaft roller follower location prior to installing each camshaft roller follower.






49. Install the camshaft roller followers.
1. Install the special tool.
2. Compress the valve spring.
3. Install the camshaft roller followers in their original locations.






50. Remove the special tool.

Caution: When installing the spark plugs, use care not to exceed the recommended torque.

51. Install the eight spark plugs.
- Tighten the spark plugs to 18 Nm. 9 13 lb - ft ).






52. Install the crankshaft sensor ring on the crankshaft.

Note: If the front cover is not secured within four minutes, the sealant must be removed and the sealing area cleaned with metal surface cleaner. Allow to dry until there is no sign of wetness or four minutes whichever is longer. Failure to follow this procedure can cause future oil leakage.






53. Apply a bead of silicone gasket and sealant gasket and sealant along the head-to-block and the oil pan-to-block surface as specified.






54. Install a new engine front cover gasket on the engine front cover. Position the engine front cover. Install the fasteners finger tight.






55. Tighten the engine front cover fasteners is sequence in three stages
- Stage 1: Tighten fasteners 1 through 5 to 25 Nm. ( 18 lb - ft ).
- Stage 2: Tighten fasteners 6 and 7 to 48 Nm. ( 35 lb - ft ).
- Stage 3: Tighten fasteners 8 through 15 to 48 Nm. (35 lb - ft ).






56. Position the belt idler pulley and install the bolt.






57. Lubricate the engine front cover and the front oil seal inner lip with clean engine oil.






58. Use the special tools to install the crankshaft front oil seal into the engine front cover.

Note: If not secured within four minutes, sealant must be removed and the sealing area cleaned with metal surface cleaner. Allow to dry until there is no sign of wetness, or four minutes, whichever is longer. Failure to follow this procedure can cause future oil leakage.






59. Apply silicone gasket and sealant gasket and sealant to the woodruff key slot on the crankshaft.






60. Use the special tool to install the crankshaft pulley.






61. Tighten the crankshaft pulley bolt in four stages.
- Stage 1: Tighten to 90 Nm. ( 66 lb - ft ).
- Stage 2: Loosen 360 °
- Stage 3: Tighten to 50 Nm. ( 37 lb - ft ).
- Stage 4: Tighten an additional 85 - 95 °






62. If a new gasket is being installed, apply instant adhesive completely around the gasket groove in the LH valve cover. Install the new valve cover gasket.

Note: If not secured within four minutes, sealant must be removed and the sealing area cleaned with metal surface cleaner. Allow to dry until there is no sign of wetness, or four minutes, whichever is longer. Failure to follow this procedure can cause future oil leakage.






63. Apply silicone gasket and sealant gasket, and sealant in two places where the engine front cover meets the cylinder head.






64. Position the left valve cover and the valve cover gasket on the cylinder head and install the bolts loosely.






65. Tighten the bolts in sequence shown.






66. If a new gasket is being installed, apply instant adhesive completely around the gasket groove in the RH valve cover. Install the new valve cover gasket.

Note: If not secured within four minutes, sealant must be removed and the sealing area cleaned with metal surface cleaner. Allow to dry until there is no sign of wetness, or four minutes, whichever is longer. Failure to follow this procedure can cause future oil leakage.






67. Apply silicone gasket and sealant gasket and sealant in two places where the engine front cover meets the cylinder head.






68. Position the right valve cover on the cylinder head and install the bolts loosely.






69. Tighten the bolts in the sequence.