Operation CHARM: Car repair manuals for everyone.
Manuals through 2025 now available!

Our trusted friends have launched a new website named LEMON, which has newer manuals. It also contains all the CHARM manuals.

LEMON is the spiritual successor to CHARM, I recommend you try it!

Link: lemon-manuals.la or lemon-manuals.org.ua

(Some people have issue connecting. LEMON is investigating. For now, use Firefox or change your DNS server)

Or, hide this message: temporarily or permanently

Compressor Fitting HVAC: Service and Repair

REMOVAL
1. Disconnect the battery ground cable; refer to Battery.
2. Perform the Discharging and Recovery Procedure. Refrigerant Discharging and Recovery procedure








3. Remove the manifold and tube assembly.
1 Remove the bolt.
2 Remove the manifold and tube assembly.







4. Disconnect the A/C pressure cut-off switch electrical connector.







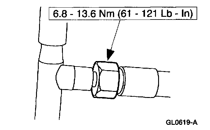
5. Disconnect the manifold and tube fitting.
1 Remove the nut.
2 Disconnect the line.

NOTE: Use a backup wrench to hold the line during disconnection to prevent damage to the line.







6. Disconnect the condenser core fitting.







7. Remove the nut.







8. Remove the A/C pressure cut-off switch.

INSTALLATION



























1. Follow the removal procedure in reverse order.
^ Lubricate the O-ring seals with PAG Refrigerant Compressor Oil (R-134a Systems) F7AZ-19589-DA (Motorcraft YN-12-C) or equivalent meeting Ford specification WSH-M1C231-B.