Operation CHARM: Car repair manuals for everyone.
Manuals through 2025 now available!

Our trusted friends have launched a new website named LEMON, which has newer manuals. It also contains all the CHARM manuals.

LEMON is the spiritual successor to CHARM, I recommend you try it!

Link: lemon-manuals.la or lemon-manuals.org.ua

(Some people have issue connecting. LEMON is investigating. For now, use Firefox or change your DNS server)

Or, hide this message: temporarily or permanently

Fluid - A/T: Service and Repair

Fluid Pan, Gasket and Filter

1. Normal maintenance requires periodic automatic transmission fluid changes. If a major repair, such as a clutch, band, bearing, etc., is required, the automatic transmission will also have to be removed for repair. At this time, the torque converter, transmission cooler and tubes must be thoroughly flushed to remove any dirt. The transmission fluid needs to be changed if evidence of fluid contamination is found. When used under continuous or severe conditions, the transmission and torque converter should be drained and refilled with fluid as specified.

2. CAUTION: Use of a fluid other than specified could result in transmission failure.

Refer to the vehicle certification label affixed to the LH front door lock face panel or door pillar for the transmission code.
3. When filling a dry transmission and torque converter. Check the fluid level.

Removal
1. Disconnect the battery ground cable.
2. Raise and support the vehicle.
3. Place a drain pan under the transmission fluid pan.





4. Drain transmission fluid.
- Loosen the transmission fluid pan bolts and allow fluid to drain. After fluid is drained remove the bolts.





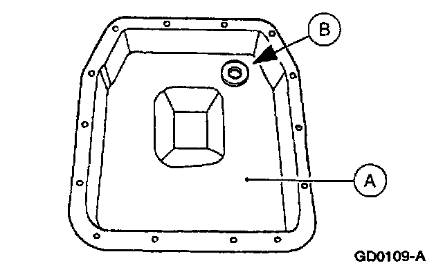
5. Remove the (A) transmission fluid pan and (B) transmission fluid pan gasket.





6. Pull down evenly and remove the transmission fluid filter, seal and filter kit.





7. Remove torque converter housing plug.





8. Remove the torque converter drain plug and drain the torque converter.
- Rotate the crankshaft to access the drain plug.





9. Clean and inspect the (A) transmission fluid pan, (B)transmission fluid pan gasket and (C) magnet.
10. Flush the fluid cooler tubes.

Installation





1. Note: A new torque converter drain plug must be used.

Install the torque converter drain plug.





2. Install torque converter housing plug.





3. CAUTION: If installing a new filter, and the seal remains in the main control bore, carefully use a small screwdriver to remove the seal. Use care not to damage the main control bore.

Note: If transmission is being repaired for a contamination-related failure, use a new filter and seal. The filter may be reused if no excessive contamination is present.

Replace fluid filter and seal as required.





4. Position the (B) pan magnet into the (A) transmission fluid pan.





5. Note: The transmission fluid pan gasket is reusable. Clean and inspect for damage; if not damaged, the gasket should be reused.

Install the transmission fluid pan and gasket.
1 Position transmission fluid pan gasket.
2 Position the transmission fluid pan.





6. Install bolts.
7. Lower the vehicle.

8. Note: When the battery is disconnected and reconnected, some abnormal drive symptoms may occur while the vehicle relearns its adaptive strategy. The vehicle may need to be driven 16 km (10 miles) or more to relearn the strategy.

Connect the battery ground cable.

9. Note: When filling a dry transmission and converter start with a minimum of 4.7 liters (5 quarts).

Fill transmission to proper fluid level.
- Use MERCON V Automatic Transmission Fluid XT-5-QM or equivalent meeting Ford specification MERCON.