Operation CHARM: Car repair manuals for everyone.
Manuals through 2025 now available!

Our trusted friends have launched a new website named LEMON, which has newer manuals. It also contains all the CHARM manuals.

LEMON is the spiritual successor to CHARM, I recommend you try it!

Link: lemon-manuals.la or lemon-manuals.org.ua

(Some people have issue connecting. LEMON is investigating. For now, use Firefox or change your DNS server)

Or, hide this message: temporarily or permanently

Installation

1. CAUTION: During this move, to avoid damage, do not allow the transmission to get into a nose-down position as this will cause the torque converter to move forward and disengage from the pump gear. The converter housing is piloted into position by dowels in the rear of the engine block The torque converter must rest squarely against the flexplate. This indicates that the converter pilot is not binding in the engine crankshaft.

Position and secure the transmission on the High Lift Transmission Jack.
- Raise and position the transmission into the vehicle.

2. Note: Make sure the torque converter is fully seated in the transmission before aligning the transmission to the engine.

Align the orange balancing marks between the torque converter studs and the flexplate bolt holes.





3. On vehicles equipped with 4.2L engines, install the nine transmission to engine bolts.





4. On vehicles equipped with 4.6L engines, install the six transmission to engine bolts.





5. Remove the Torque Converter Holding Tool.





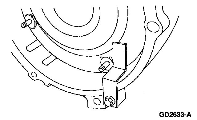
6. Install the fuel line bracket.
1 Position the fuel line bracket.
2 Install the bolt.
7. Install the exhaust and crossmember.
8. Remove the High Lift Transmission Jack.





9. Install the upper transmission fluid fill tube.





10. Install the transmission oil fill tube bolt on the (RH) side of the cylinder head.





11. Connect the solenoid body assembly electrical connector.





12. Connect the electrical connectors.
1 Connect the digital Transmission Range (TR) sensor.
2 Connect the Output Shaft Speed (OSS) sensor.





13. Connect the transmission fluid cooler tubes.





14. Connect the transmission shift linkage.
15. Install the four torque converter nuts.
- Rotate the crankshaft to access all the torque converter nuts.





16. On vehicles equipped with 4.2L engines, install the torque converter nuts.





17. On vehicles equipped with 4.6L engines, install the nuts.





18. Install the transmission inspection cover.
On vehicles equipped with 4.2L engines, install the inspection cover.
1 Position the transmission inspection cover.
2 Install the three bolts.





19. On vehicles equipped with 4.6/5.4L engines, install the rubber access plug.
20. Install the starter motor.





21. Note: To maintain initial driveshaft balance, align the index marks made during removal.

Install the rear driveshaft.
1 Position the driveshaft.
2 Install the four bolts.
22. On 4WD vehicles to install the transfer case.
23. Lower the vehicle.
24. Connect the battery ground cable.
25. Fill the transmission with fluid and inspect for proper operation.
- Use MERCON V XT-5-QM Automatic Transmission Fluid or equivalent meeting Ford specification MERCON V.