Operation CHARM: Car repair manuals for everyone.
Manuals through 2025 now available!

Our trusted friends have launched a new website named LEMON, which has newer manuals. It also contains all the CHARM manuals.

LEMON is the spiritual successor to CHARM, I recommend you try it!

Link: lemon-manuals.la or lemon-manuals.org.ua

(Some people have issue connecting. LEMON is investigating. For now, use Firefox or change your DNS server)

Or, hide this message: temporarily or permanently

Windshield: Service and Repair






SPECIAL SERVICE TOOL(S)

REMOVAL

WARNING: TO PREVENT GLASS SPLINTERS FROM ENTERING EYES OR CUTTING HANDS, WEAR SAFETY GLASSES AND HEAVY GLOVES WHEN CUTTING THE GLASS FROM THE VEHICLE.

1. Remove the cowl top vent panels.
2. If equipped, remove the overhead console.







3. Remove the LH and RH A-pillar assist handles.
1 Remove the fours screw covers and the four screws.
2 Remove the two A-pillar assist handles.







4. Remove the LH and RH windshield side garnish mouldings.
5. Remove the interior rear view mirror; refer to Mirrors.







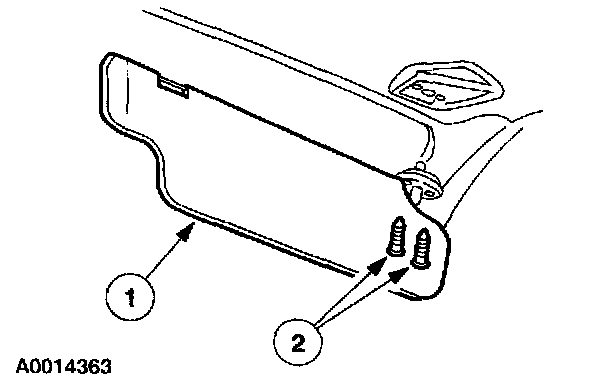
6. Remove the RH and LH sun visors.
1 Remove the four screws.
2 Remove the sun visors.







7. Remove the LH and RH sun visor clips.
1 Remove the two screws.
2 Remove the sun visor clips.

8. Lower the front portion of the headliner.







9. Remove the upper windshield weatherstrip.







10. Remove the LH and RH windshield mouldings.
11. Mark the outside of the windshield glass with a wax pencil to avoid damaging the glass stops when cutting urethane sealant.
12. Using a soft brush or vacuum, remove any dirt and foreign material from the pinch weld.







13. Using special tool, cut the urethane sealant from the windshield glass.
^ Insert the blade into the urethane at the top middle and work toward the bottom corners.

CAUTION: Care must be taken to avoid scratching the pinch weld.

NOTE: Lubricate the urethane sealant with water to aid Interior Auto Glass Cut-Out Knife Kit when cutting the urethane sealant.







14. Using the special tool, distance the windshield from the body.







15. Using the special tool, cut the remaining urethane sealant and remove the windshield glass.

NOTE: Removing the windshield glass may require more than one technician.

INSTALLATION

CAUTION: After replacing the urethane installed glass, the vehicle should not be driven until the urethane has cured. The curing times at temperatures above 13°C (55°F) and relative humidity above 50% is 12-24 hours (decreasing at higher temperatures and lower humidities). Inadequate curing of the urethane may adversely affect the strength of the urethane sealant bond.

1. Dry fit the windshield glass by centering it side-to-side and by adjusting the setting blocks (if equipped) to get the correct position of the part top-to-bottom. Make the alignment marks with tape or non-staining grease pencil on both the glass and the vehicle body.







2. Trim the remaining urethane on the pinch weld to within specification.
^ The old urethane surface should be smooth and free of cuts and contamination.

CAUTION: Care must be taken to avoid scratching the pinch weld.

3. Use a wool applicator to apply Urethane Metal Primer Essex U-413 meeting Ford specification WSB-M2G234-C to any exposed metal on the pinch weld. Allow six to ten minutes to dry.







4. Apply 8mm foam butyl meeting Ford specification WSB-M2G234-C to the pinch weld.
5. If reinstalling the original windshield, remove the excess urethane sealant from the windshield glass.
6. If installing a new windshield glass, clean the inside of the glass surface with an alcohol-free cleaner to make sure the ceramic-coated area is clean.
7. If installing a new windshield, apply Urethane Glass Prep Essex U-401 meeting Ford specification WSB-M2G314-B twice around the glass surface to be prepped.

CAUTION: Wipe off the Urethane Glass Prep immediately after each application because it flash dries.

NOTE: Apply with deliberate strokes, making sure not to overlap the applied area.

8. If installing a new windshield, apply Urethane Glass Primer Essex U-402 meeting Ford specification WSB-M5B280-C to the same area that was in the previous step. Allow five minutes to dry.







9. Cut the urethane applicator tip to specification.







10. Apply a bead of Urethane Sealant Essex 400 HV or Essex U-216 meeting Ford specification WSB-M20316-B to the pinch weld just outside the foam butyl dam.

CAUTION: If a vehicle is to be driven within 24 hours of urethane sealant application, Urethane Sealant Essex U-216 meeting Ford specification WSB-M2C316-B must be used due to its one hour cure time.

11. Install the interior rear view mirror; refer to Mirrors.







12. Using the alignment marks, install the windshield glass.

CAUTION: Open the windows to prevent the windshield glass from being pushed out by air pressure if a door is closed.

13. Check the installation for air and water leaks through the urethane seal and add urethane sealant where needed.







14. Install the upper windshield weatherstrip.
15. Paddle the excess urethane sealant from the two sides of the windshield glass.

NOTE: Use one continuous stroke when removing the excess urethane sealant.

16. If necessary, remove excess urethane sealant from the outside surface of the windshield glass.







17. Install the LH and RH windshield mouldings.
18. Position the headliner.







19. Install the LH and RH sun visor clips.
1 Position the clips.
2 Install the screws.







20. Install the LH and RH sun visors.
1 Position the visors.
2 Install the screws.







21. Install the LH and RH windshield side garnish mouldings.







22. Install the LH and RH A-pillar assist handles.
1 Position the two assist handles.
2 Install the four screws and four covers.

23. Install the cowl top vent panel.