Operation CHARM: Car repair manuals for everyone.
Manuals through 2025 now available!

Our trusted friends have launched a new website named LEMON, which has newer manuals. It also contains all the CHARM manuals.

LEMON is the spiritual successor to CHARM, I recommend you try it!

Link: lemon-manuals.la or lemon-manuals.org.ua

(Some people have issue connecting. LEMON is investigating. For now, use Firefox or change your DNS server)

Or, hide this message: temporarily or permanently

Variable Cam Timing System





Overview

The Variable Cam Timing System allows the exhaust cam to advance and retard at varying engine speeds. The purpose of this is to reduce exhaust emissions and increase fuel economy. As the exhaust cam retards in relation to the crankshaft position, residual exhaust gases are left in the combustion chamber. The residual gases cool the combustion chamber and are inert when mixed with the incoming fresh charge of fuel and air. This results in better fuel economy and lower nitrogen oxides (NOx) and hydrocarbons (HC) the engine produces. The Exhaust Gas Recalculation System (EGR) is unnecessary on the 2.0L (4V) engine due to this feature.

Variable Cam Timing

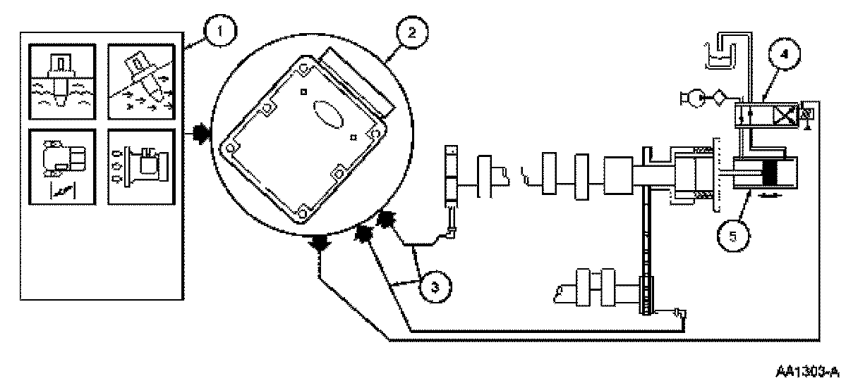
Figure 120: Variable Cam Timing System (Refer to the On-Board Diagnostics II System Overview for icon definitions.):






The Variable Cam Timing (VCT) System consists of the control solenoid, five-tooth pulse ring (4+1) on exhaust camshaft, intake air temperature (IAT) sensor, engine coolant temperature (ECT) sensor, camshaft position (CMP) sensor, mass air flow (MAF) sensor, crankshaft position (CKP) sensor, powertrain control module (PCM) (Figure 120).

1. The powertrain control module (PCM) receives input signals from the intake air temperature (IAT) sensor, engine coolant temperature (ECT) sensor, camshaft position (CMP) sensor, mass air flow (MAF) sensor and crankshaft position (CKP) sensor for determining the operating conditions of the engine.
2. The Variable Cam Timing (VCT) system is enabled by the PCM when the proper conditions are met. The PCM disables the VCT system if a fault is detected.
3. The PCM calculates relative cam position using the CMP sensor and data from the (4+1) pulse ring mounted on the exhaust camshaft. Relative cam position is calculated by measuring the time between the rising edge of profile ignition pickup (PIP) and the falling edge of VCT pulse.
4. The PCM continually calculates a cam position error value based on the difference between the desired and actual position and a duty cycle is commanded for the VCT solenoid valve. Engine oil is allowed to flow to the VCT unit.
5. Oil flows to either side of the piston chamber changing a linear motion from the piston to a rotation motion from the helical mechanism in the VCT unit. During closed loop the PCM outputs a revised duty cycle to the VCT solenoid valve to correct for cam position error.

Hardware

Figure 121: Variable Cam Timing (VCT) Solenoid Valve:






Variable Cam Timing (VCT) Solenoid Valve

The VCT solenoid valve (Figure 121) is an integral part of the VCT system. The solenoid valve controls the flow of engine oil to the variable cam timing unit assembly. As the PCM duty cycles the solenoid valve, oil is allowed to flow to the VCT unit assembly and advance or retard the cam timing.

Variable Cam Timing (VCT) Unit Assembly

Figured 122: Variable Cam Timing Unit Assembly:






The variable cam timing unit assembly (Figure 122) is coupled to the camshaft through a helical spline in the VCT unit chamber. When the flow of oil is shifted from one side of the chamber to the other, the differential change in oil pressure forces the piston to move linearly along the axis of the camshaft. This linear motion is translated into rotational camshaft motion through the helical spline coupling. A spring installed in the chamber is designed to hold the camshaft in the minimum overlap position (5 degrees) when oil pressure is too low to maintain adequate position control. The camshaft is allowed to rotate up to 30 degrees.