Operation CHARM: Car repair manuals for everyone.
Manuals through 2025 now available!

Our trusted friends have launched a new website named LEMON, which has newer manuals. It also contains all the CHARM manuals.

LEMON is the spiritual successor to CHARM, I recommend you try it!

Link: lemon-manuals.la or lemon-manuals.org.ua

(Some people have issue connecting. LEMON is investigating. For now, use Firefox or change your DNS server)

Or, hide this message: temporarily or permanently

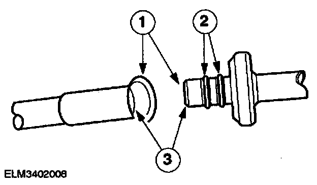
Coupler HVAC: Service and Repair






1. Fit the special tool.
- Fit the special tool in such a way that the inner collar can be inserted into the locking spring.

NOTE: Choose the special tool according to the line diameter.







2. Separate the refrigerant line.
- Press the special tool into the locking spring.
- Separate the refrigerant lines.







3. Connect the refrigerant line.
- Check the locking spring for damage.
- Carefully remove damaged locking springs with a thin wire, and renew them.

NOTE: Wear lint-free gloves only to avoid getting dirt on the O-rings.







4. Connect the refrigerant lines (continued).
- Detach the O-rings using Special Tool 100-010.
1. Clean the connections using refrigerant oil and a lint-free cloth.
2. Insert new O-rings.
3. Lubricate the connections and O-rings with refrigerant oil.

CAUTI0N: Never lubricate connections and O-rings with mineral oil.







5. Assemble the refrigerant line.
- Press the indicator ring into the locking spring and assemble the refrigerant line.
- Check that the locking spring is engaged, i.e. that the indicator ring has jumped out.