Operation CHARM: Car repair manuals for everyone.
Manuals through 2025 now available!

Our trusted friends have launched a new website named LEMON, which has newer manuals. It also contains all the CHARM manuals.

LEMON is the spiritual successor to CHARM, I recommend you try it!

Link: lemon-manuals.la or lemon-manuals.org.ua

(Some people have issue connecting. LEMON is investigating. For now, use Firefox or change your DNS server)

Or, hide this message: temporarily or permanently

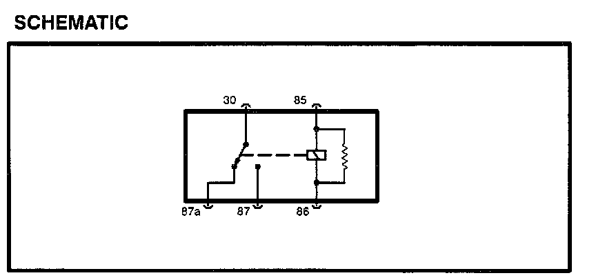
Mini ISO Relay: Testing and Inspection

Component Testing Instructions

Component testing procedures are provided to determine whether a component is good or bad.

Testing information for each component includes a schematic with component terminal locations and step-by-step test procedures. Component terminals are identified by letters or numbers that may be marked on the component or callout if there is no mark on the component.







The component connector MUST BE REMOVED before testing. To test a single circuit within the component, select that circuit under the column TO TEST If you wish to test the complete component, perform all tests.

Connect the tester to the terminals shown in the second column and operate the component as shown in the third column.























COMPONENT TESTING PROCEDURE (voltage applied)

Disconnect the ohmmeter; connect pins 30 and 85 to 12 V DC power and pin 86 to ground. Measure voltage between pin 87 and pin 86. If the voltage is 12 V continue with the test. If not, replace the relay. Disconnect power from pin 85 and measure voltage between pin 87a and pin 86. If the voltage is 12 V, the relay is okay. If not, replace the relay.