Operation CHARM: Car repair manuals for everyone.
Manuals through 2025 now available!

Our trusted friends have launched a new website named LEMON, which has newer manuals. It also contains all the CHARM manuals.

LEMON is the spiritual successor to CHARM, I recommend you try it!

Link: lemon-manuals.la or lemon-manuals.org.ua

(Some people have issue connecting. LEMON is investigating. For now, use Firefox or change your DNS server)

Or, hide this message: temporarily or permanently

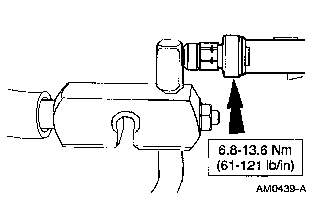
Compressor Fitting HVAC: Service and Repair

REMOVAL
1. Remove the A/C compressor; refer to Compressor.







2. Disconnect the A/C manifold and tube from the suction accumulator/drier; refer to the Spring Lock Coupling Disconnect and Connect general procedure. Spring Lock Coupling Connect and Disconnect Procedure







3. Disconnect the A/C manifold and tube from the A/C condenser core.







4. Disconnect the A/C pressure cut-off switch electrical connector.







5. Disconnect the fuel line spring lock coupling; refer to Fuel Delivery and Air Induction.







6. Remove the nut and reposition the bracket.







7. Remove the manifold retaining bolt and remove the A/C manifold and tube.







8. Remove the A/C pressure cut-off switch from the A/C manifold and tube.

INSTALLATION






















1. Follow the removal procedure in reverse order.
^ Lubricate the O-ring seal with Motorcraft YN-12c refrigerant oil or equivalent meeting Ford specification WSH-M1C231-B.
^ Apply Pipe Sealant With Teflon(R) D8AZ-19554-A or equivalent meeting Ford specifications WSK-M2G350-A2 and ESP-M18P7-A to the threads of the A/C manifold retaining bolt.