Operation CHARM: Car repair manuals for everyone.
Manuals through 2025 now available!

Our trusted friends have launched a new website named LEMON, which has newer manuals. It also contains all the CHARM manuals.

LEMON is the spiritual successor to CHARM, I recommend you try it!

Link: lemon-manuals.la or lemon-manuals.org.ua

(Some people have issue connecting. LEMON is investigating. For now, use Firefox or change your DNS server)

Or, hide this message: temporarily or permanently

Fuel Gauge Module (CNG): Service and Repair



Flex Fuel Sensor

REMOVAL
1. Disconnect the battery ground cable. For additional information, refer to Battery.
2. Relieve the fuel pressure.
3. Remove the upper and lower fuel lines.







4. Disconnect the coolant overflow hose and position aside.
5. Disconnect the wire harness locators.







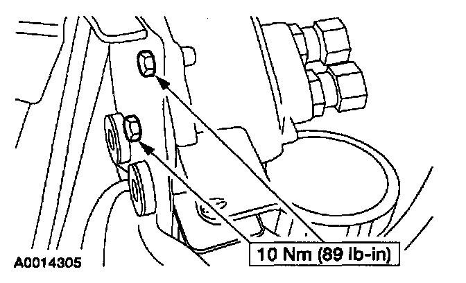
6. Remove the fuel sensor bolt and the nut.







7. Disconnect the electrical connector.







8. Remove the fuel sensor.
- Remove the bracket bolts.

INSTALLATION
1. To install, reverse the removal procedure.

CAUTION: Make sure the fuel line routing is the same as it was originally.